首页
专利数据库
产业人才
行业动态
产业政策法规
维权援助
个人中心
登录/注册
详情
文本
图像
标题:
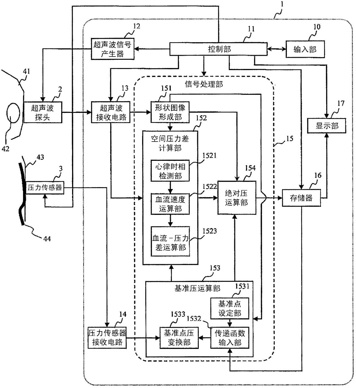
超声波摄像装置
授权日:
1900-01-01
公开(公告)号:
CN102413771A
申请日:
2010-04-23
公开(公告)日:
2012-04-11
当前申请(专利权)人:
株式会社日立医疗器械
发明人:
田中智彦 | 桥场邦夫 | 山本真理子 | 森修
简单同族:
CN102413771A | CN102413771B | JP5356507B2 | JPWO2010123089A1 | US20120041313A1 | WO2010123089A1
简单同族成员数量:
6
简单同族被引用专利总数:
27
诉讼案件数:
0
法律状态/事件:
未缴年费