首页
专利数据库
产业人才
行业动态
产业政策法规
维权援助
个人中心
登录/注册
详情
文本
图像
标题:
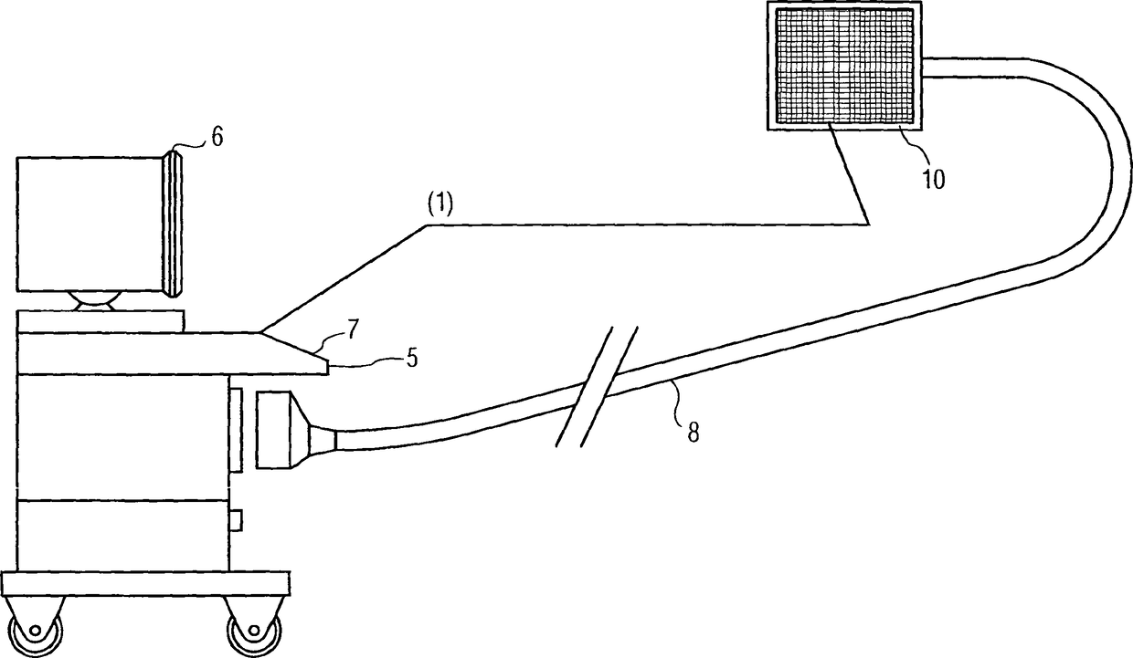
通过超声换能器系统连续成像的装置
授权日:
2012-11-14
公开(公告)号:
CN101166473B
申请日:
2006-04-20
公开(公告)日:
2012-11-14
当前申请(专利权)人:
皇家飞利浦电子股份有限公司
发明人:
M·佩辛斯基
简单同族:
CN101166473A | CN101166473B | EP1890606A1 | JP2008538716A | KR1020080002857A | RU2007143532A | RU2404711C2 | US20080304729A1 | WO2006114735A1
简单同族成员数量:
9
简单同族被引用专利总数:
53
诉讼案件数:
0
法律状态/事件:
授权