首页
专利数据库
产业人才
行业动态
产业政策法规
维权援助
个人中心
登录/注册
详情
文本
图像
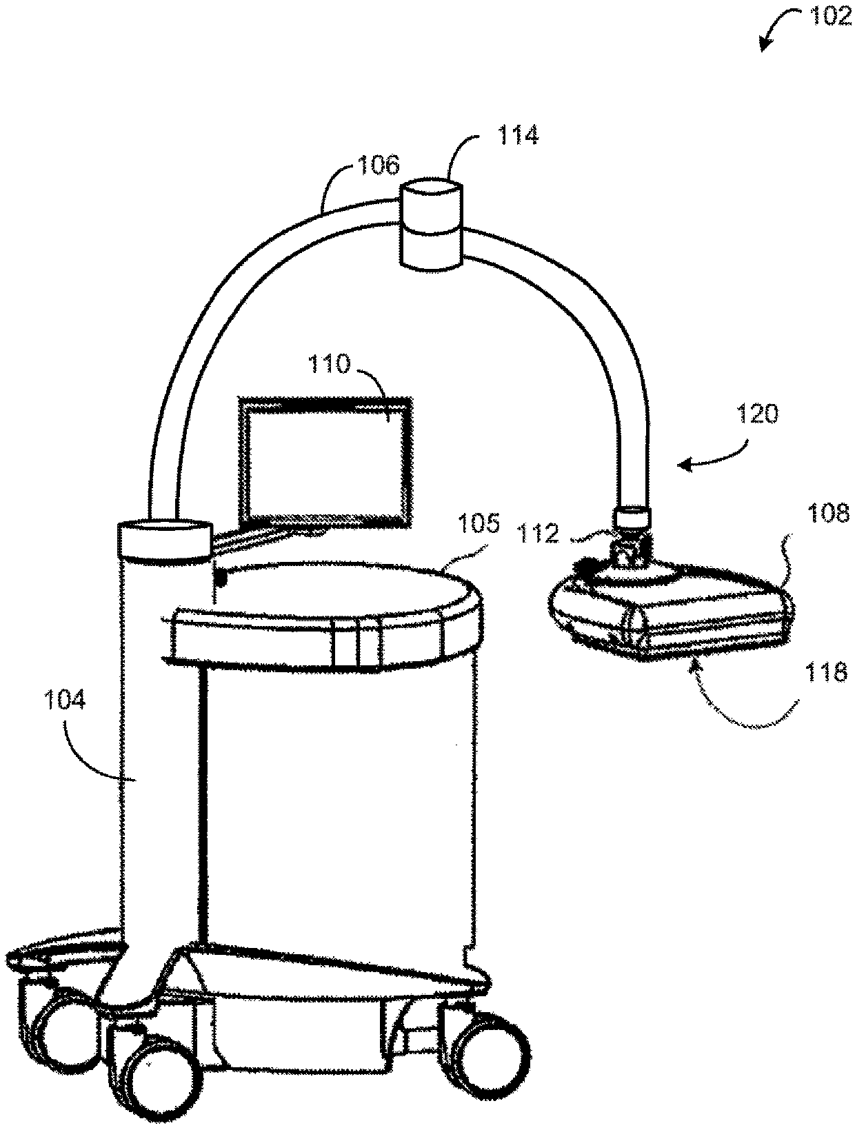
标题:
用于乳房超声系统的膜
授权日:
1900-01-01
公开(公告)号:
CN109717898A
申请日:
2018-10-26
公开(公告)日:
2019-05-07
当前申请(专利权)人:
通用电气公司
发明人:
道格·威尔勒 | 布鲁斯·布罗登 | 罗斯·斯塔尔特
简单同族:
CN109717898A | US20190125304A1
简单同族成员数量:
2
简单同族被引用专利总数:
0
诉讼案件数:
0
法律状态/事件:
公开