首页
专利数据库
产业人才
行业动态
产业政策法规
维权援助
个人中心
登录/注册
详情
文本
图像
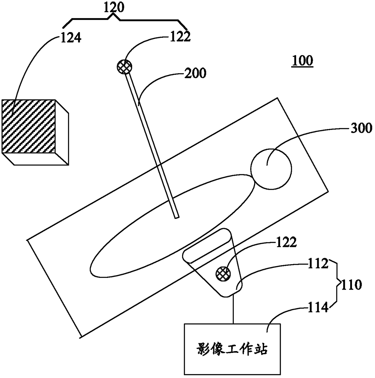
标题:
超声手术导航系统及超声手术导航方法
授权日:
1900-01-01
公开(公告)号:
CN102266250A
申请日:
2011-07-19
公开(公告)日:
2011-12-07
当前申请(专利权)人:
珠海中科先进技术研究院有限公司
发明人:
温铁祥 | 辜嘉 | 王磊
简单同族:
CN102266250A | CN102266250B
简单同族成员数量:
2
简单同族被引用专利总数:
27
诉讼案件数:
0
法律状态/事件:
授权 | 权利转移