首页
专利数据库
产业人才
行业动态
产业政策法规
维权援助
个人中心
登录/注册
详情
文本
图像
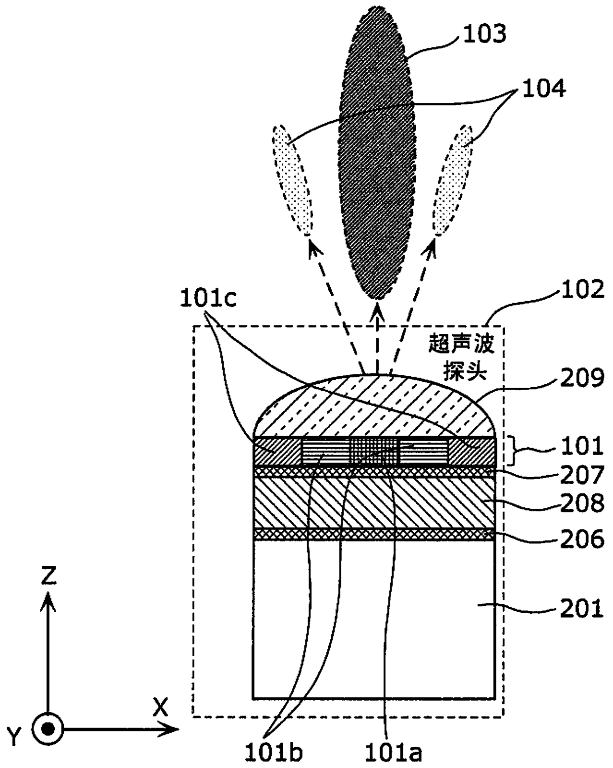
标题:
超声波探头和超声波诊断装置
授权日:
2016-10-05
公开(公告)号:
CN102959993B
申请日:
2012-02-13
公开(公告)日:
2016-10-05
当前申请(专利权)人:
柯尼卡美能达株式会社
发明人:
楠龟弘一 | 小椋高志 | 永田贵之
简单同族:
CN102959993A | CN102959993B | JP5807206B2 | JPWO2012144117A1 | US20130090561A1 | US9186126 | WO2012144117A1
简单同族成员数量:
7
简单同族被引用专利总数:
25
诉讼案件数:
0
法律状态/事件:
授权 | 权利转移