首页
专利数据库
产业人才
行业动态
产业政策法规
维权援助
个人中心
登录/注册
详情
文本
图像
标题:
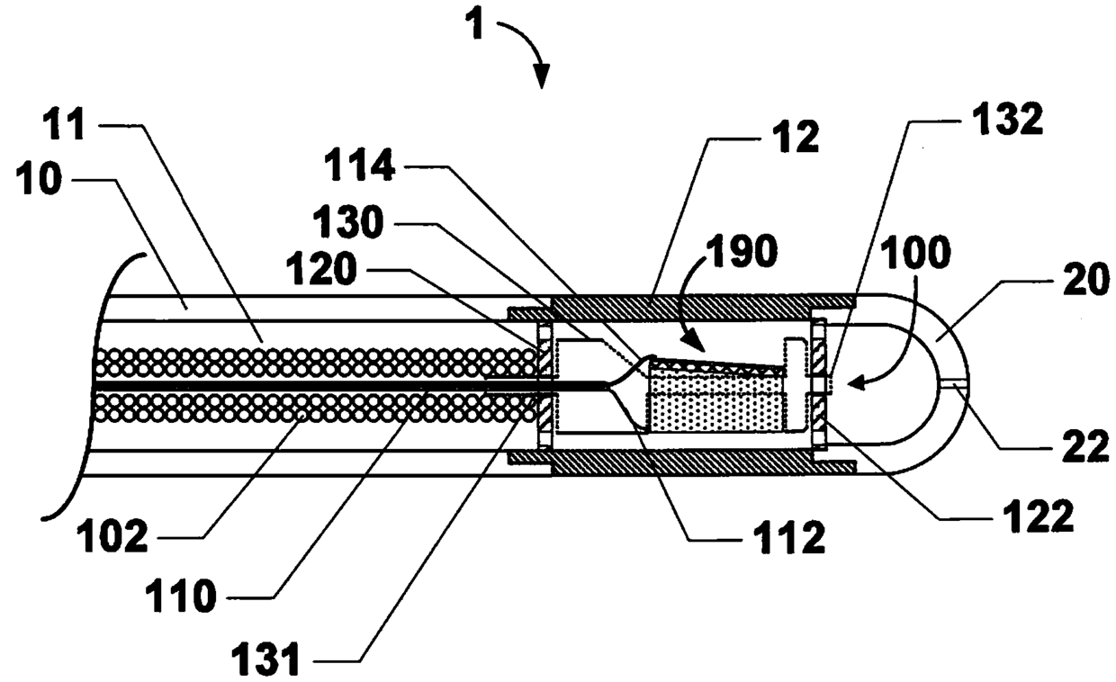
用于成像和消融组织的导管
授权日:
2016-08-24
公开(公告)号:
CN103974663B
申请日:
2012-11-28
公开(公告)日:
2016-08-24
当前申请(专利权)人:
阿西斯特医疗系统有限公司
发明人:
K·R·沃特斯 | T·C·穆尔 | R·泽伦卡 | R·包蒂斯塔
简单同族:
CN103974663A | CN103974663B | EP2785252A1 | EP2785252B1 | HK1199805A | HK1199805A1 | JP2015501703A | JP2017035497A | JP6334407B2 | US20130137980A1 | US9782148 | WO2013082143A1
简单同族成员数量:
12
简单同族被引用专利总数:
62
诉讼案件数:
0
法律状态/事件:
授权