首页
专利数据库
产业人才
行业动态
产业政策法规
维权援助
个人中心
登录/注册
详情
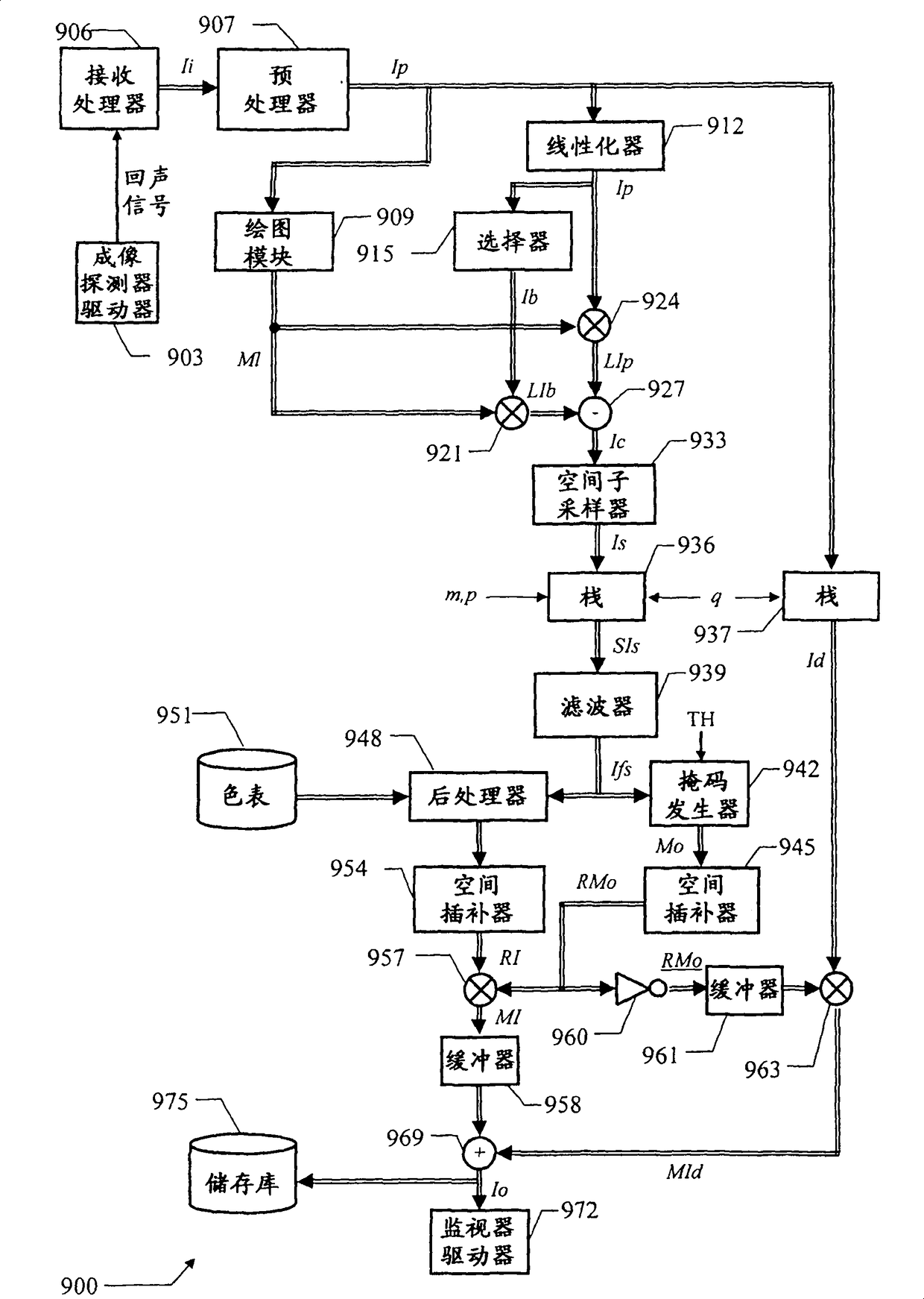
文本
图像
标题:
在医学成像应用中对固定造影剂脱离的检测
授权日:
2013-01-30
公开(公告)号:
CN101605500B
申请日:
2007-12-21
公开(公告)日:
2013-01-30
当前申请(专利权)人:
博莱科瑞士股份有限公司
发明人:
P·弗林京 | T·梅萨格 | M·阿迪特 | N·罗格宁
简单同族:
AU2007336126A1 | AU2007336126B2 | CA2670932A1 | CA2670932C | CN101605500A | CN101605500B | EP2099364A1 | EP2099364B1 | EP2099364B8 | JP2010512888A | JP5313915B2 | US20090304593A1 | US8512249 | WO2008074889A1
简单同族成员数量:
14
简单同族被引用专利总数:
34
诉讼案件数:
0
法律状态/事件:
授权 | 权利转移