首页
专利数据库
产业人才
行业动态
产业政策法规
维权援助
个人中心
登录/注册
详情
文本
图像
标题:
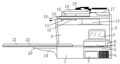
一种超声波成像诊断设备
授权日:
2016-01-13
公开(公告)号:
CN204950991U
申请日:
2015-08-24
公开(公告)日:
2016-01-13
当前申请(专利权)人:
宋国丰
发明人:
宋国丰
简单同族:
CN204950991U
简单同族成员数量:
1
简单同族被引用专利总数:
0
诉讼案件数:
0
法律状态/事件:
未缴年费