首页
专利数据库
产业人才
行业动态
产业政策法规
维权援助
个人中心
登录/注册
详情
文本
图像
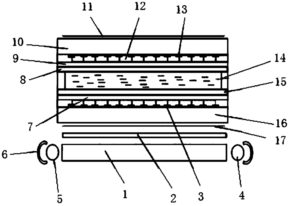
标题:
一种液晶显示器
授权日:
2015-01-28
公开(公告)号:
CN204129381U
申请日:
2014-09-30
公开(公告)日:
2015-01-28
当前申请(专利权)人:
聂成
发明人:
聂成
简单同族:
CN204129381U
简单同族成员数量:
1
简单同族被引用专利总数:
0
诉讼案件数:
0
法律状态/事件:
未缴年费