首页
专利数据库
产业人才
行业动态
产业政策法规
维权援助
个人中心
登录/注册
详情
文本
图像
标题:
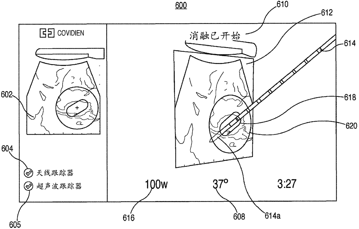
微波消融计划与手术系统
授权日:
1900-01-01
公开(公告)号:
CN107530059A
申请日:
2016-04-29
公开(公告)日:
2018-01-02
当前申请(专利权)人:
柯惠有限合伙公司
发明人:
D·G·吉罗托 | J·S·巴拉德瓦杰 | K·J·弗兰克
简单同族:
AU2016254139A1 | CA2982263A1 | CN107530059A | EP3291736A1 | EP3291736A4 | JP2018524031A | US20160317224A1 | US20160317225A1 | US20160317229A1 | US20160317230A1 | US20160317231A1 | WO2016176549A1
简单同族成员数量:
12
简单同族被引用专利总数:
30
诉讼案件数:
0
法律状态/事件:
实质审查