首页
专利数据库
产业人才
行业动态
产业政策法规
维权援助
个人中心
登录/注册
详情
文本
图像
标题:
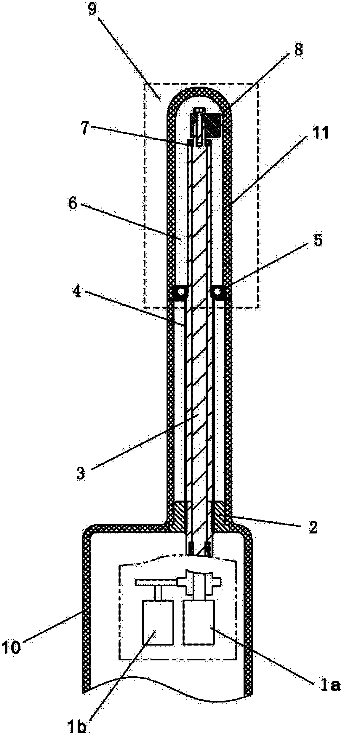
一种超声探头及应用该超声探头的超声仪器
授权日:
1900-01-01
公开(公告)号:
CN102266237A
申请日:
2011-07-29
公开(公告)日:
2011-12-07
当前申请(专利权)人:
深圳开立生物医疗科技股份有限公司
发明人:
吴拱安 | 陈雄 | 徐科端
简单同族:
CN102266237A | CN102266237B
简单同族成员数量:
2
简单同族被引用专利总数:
0
诉讼案件数:
0
法律状态/事件:
授权