首页
专利数据库
产业人才
行业动态
产业政策法规
维权援助
个人中心
登录/注册
详情
文本
图像
标题:
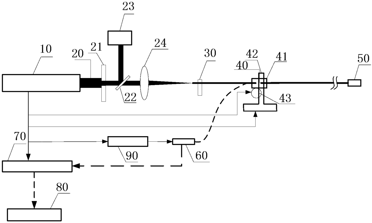
一种血管内光声超声双模成像系统及其成像方法
授权日:
2015-12-09
公开(公告)号:
CN103385758B
申请日:
2013-07-22
公开(公告)日:
2015-12-09
当前申请(专利权)人:
深圳先进技术研究院
发明人:
宋亮 | 邹新 | 白晓淞
简单同族:
CN103385758A | CN103385758B | WO2015010409A1
简单同族成员数量:
3
简单同族被引用专利总数:
43
诉讼案件数:
0
法律状态/事件:
授权