首页
专利数据库
产业人才
行业动态
产业政策法规
维权援助
个人中心
登录/注册
详情
文本
图像
标题:
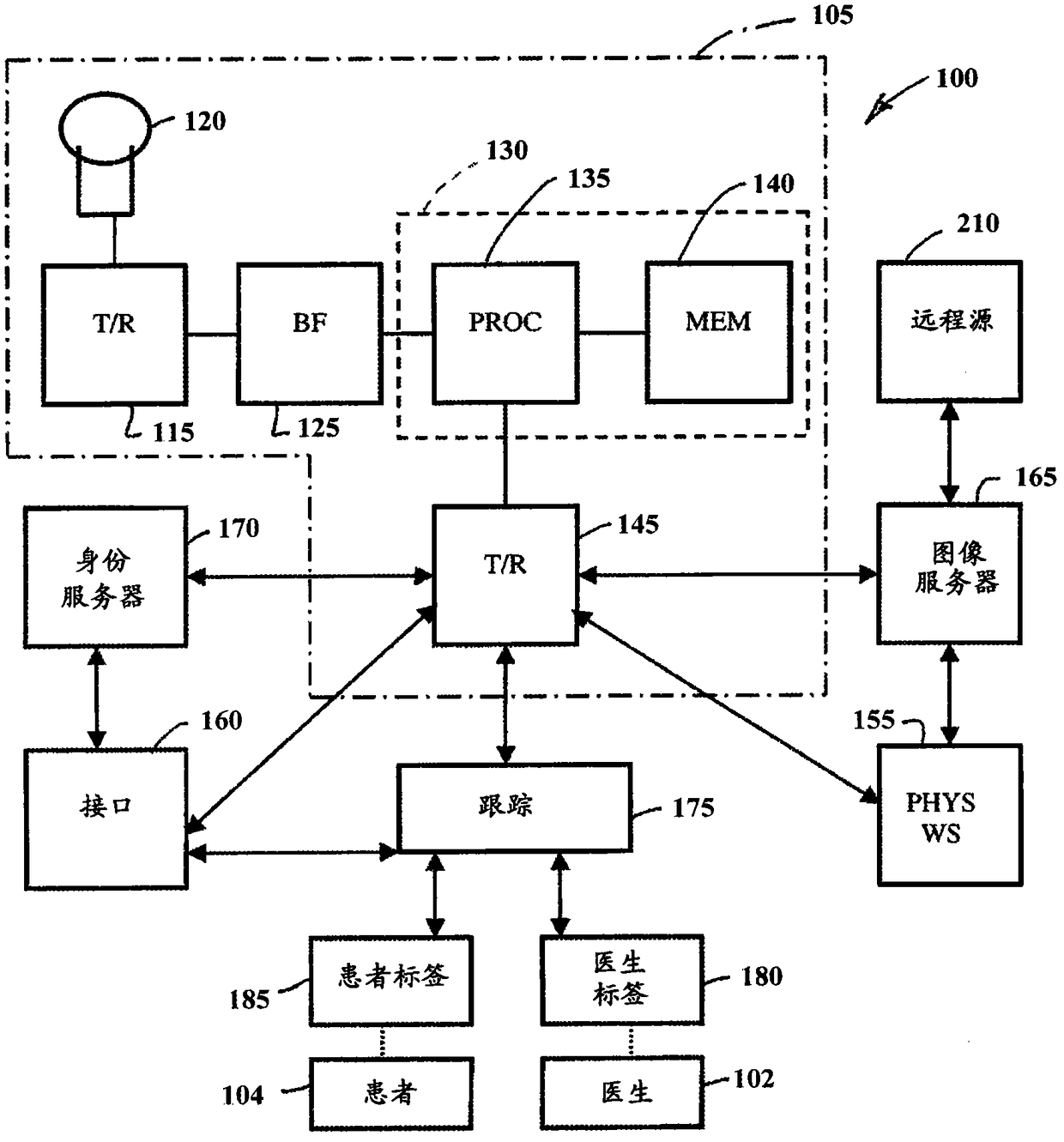
对无线超声探头自动加载用户设置的方法和系统
授权日:
1900-01-01
公开(公告)号:
CN102525560A
申请日:
2011-12-23
公开(公告)日:
2012-07-04
当前申请(专利权)人:
通用电气公司
发明人:
S·瓦纳 | M·S·乌尔尼斯
简单同族:
CN102525560A | CN102525560B | JP2012139491A | JP5973163B2 | US20130158397A1 | US9218452
简单同族成员数量:
6
简单同族被引用专利总数:
31
诉讼案件数:
0
法律状态/事件:
授权