首页
专利数据库
产业人才
行业动态
产业政策法规
维权援助
个人中心
登录/注册
详情
文本
图像
标题:
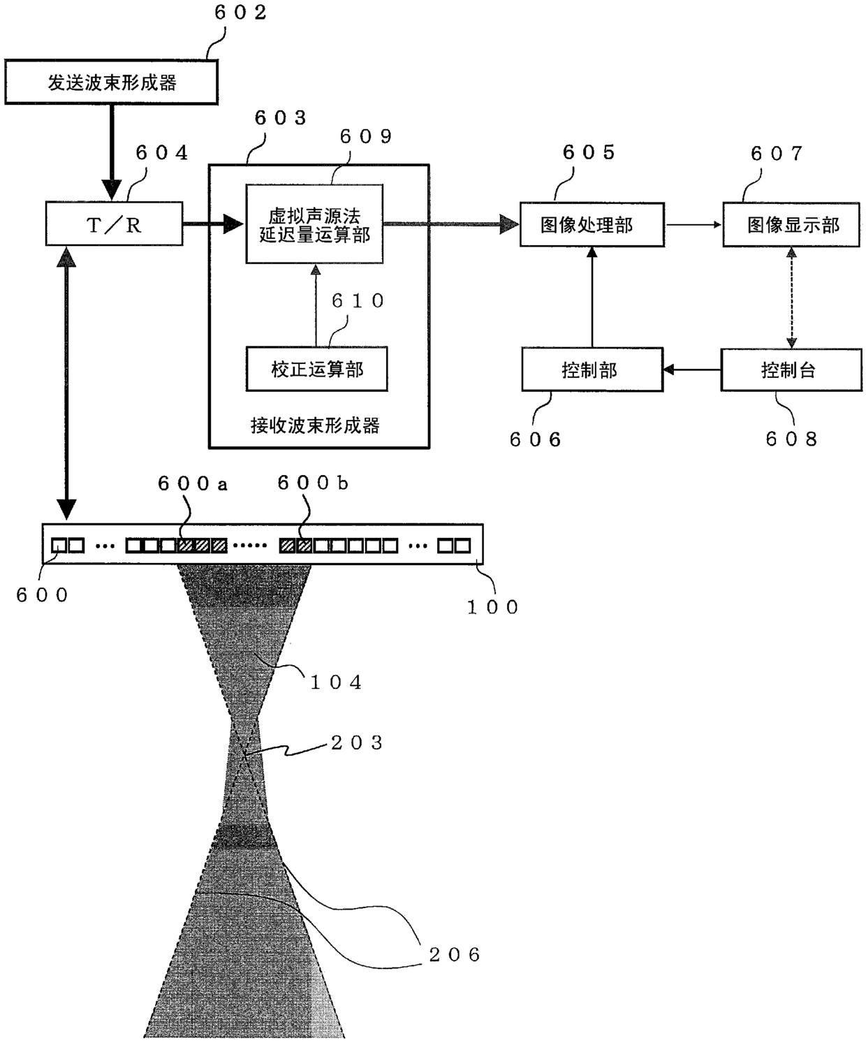
超声波成像装置
授权日:
1900-01-01
公开(公告)号:
CN105491954A
申请日:
2014-07-17
公开(公告)日:
2016-04-13
当前申请(专利权)人:
株式会社日立制作所
发明人:
高野慎太
简单同族:
CN105491954A | CN105491954B | JP6035424B2 | JPWO2015025655A1 | US20160174938A1 | WO2015025655A1
简单同族成员数量:
6
简单同族被引用专利总数:
29
诉讼案件数:
0
法律状态/事件:
授权 | 权利转移