首页
专利数据库
产业人才
行业动态
产业政策法规
维权援助
个人中心
登录/注册
详情
文本
图像
标题:
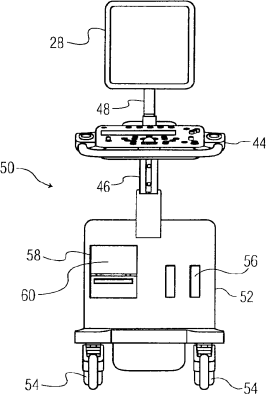
具有扩展坞的便携式超声波诊断成像系统
授权日:
1900-01-01
公开(公告)号:
CN101163986A
申请日:
2006-03-31
公开(公告)日:
2008-04-16
当前申请(专利权)人:
皇家飞利浦电子股份有限公司
发明人:
M·D·波兰德
简单同族:
CN101163986A | EP1875270A1 | JP2008536601A | US20080161688A1 | WO2006111871A1
简单同族成员数量:
5
简单同族被引用专利总数:
74
诉讼案件数:
0
法律状态/事件:
撤回