首页
专利数据库
产业人才
行业动态
产业政策法规
维权援助
个人中心
登录/注册
详情
文本
图像
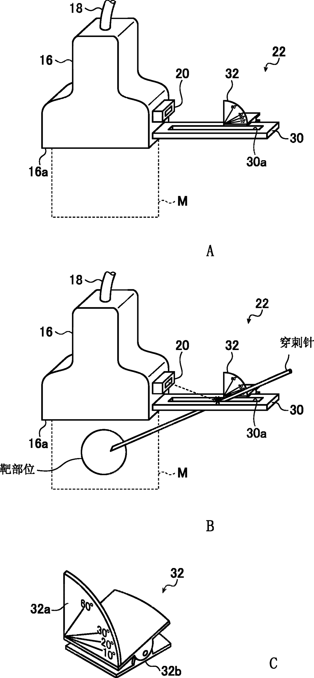
标题:
超声诊断装置
授权日:
2015-07-29
公开(公告)号:
CN102551797B
申请日:
2011-10-12
公开(公告)日:
2015-07-29
当前申请(专利权)人:
富士胶片株式会社
发明人:
田代理香
简单同族:
CN102551797A | CN102551797B | JP2012081134A | JP5337782B2 | US20120095339A1
简单同族成员数量:
5
简单同族被引用专利总数:
23
诉讼案件数:
0
法律状态/事件:
授权