首页
专利数据库
产业人才
行业动态
产业政策法规
维权援助
个人中心
登录/注册
详情
文本
图像
标题:
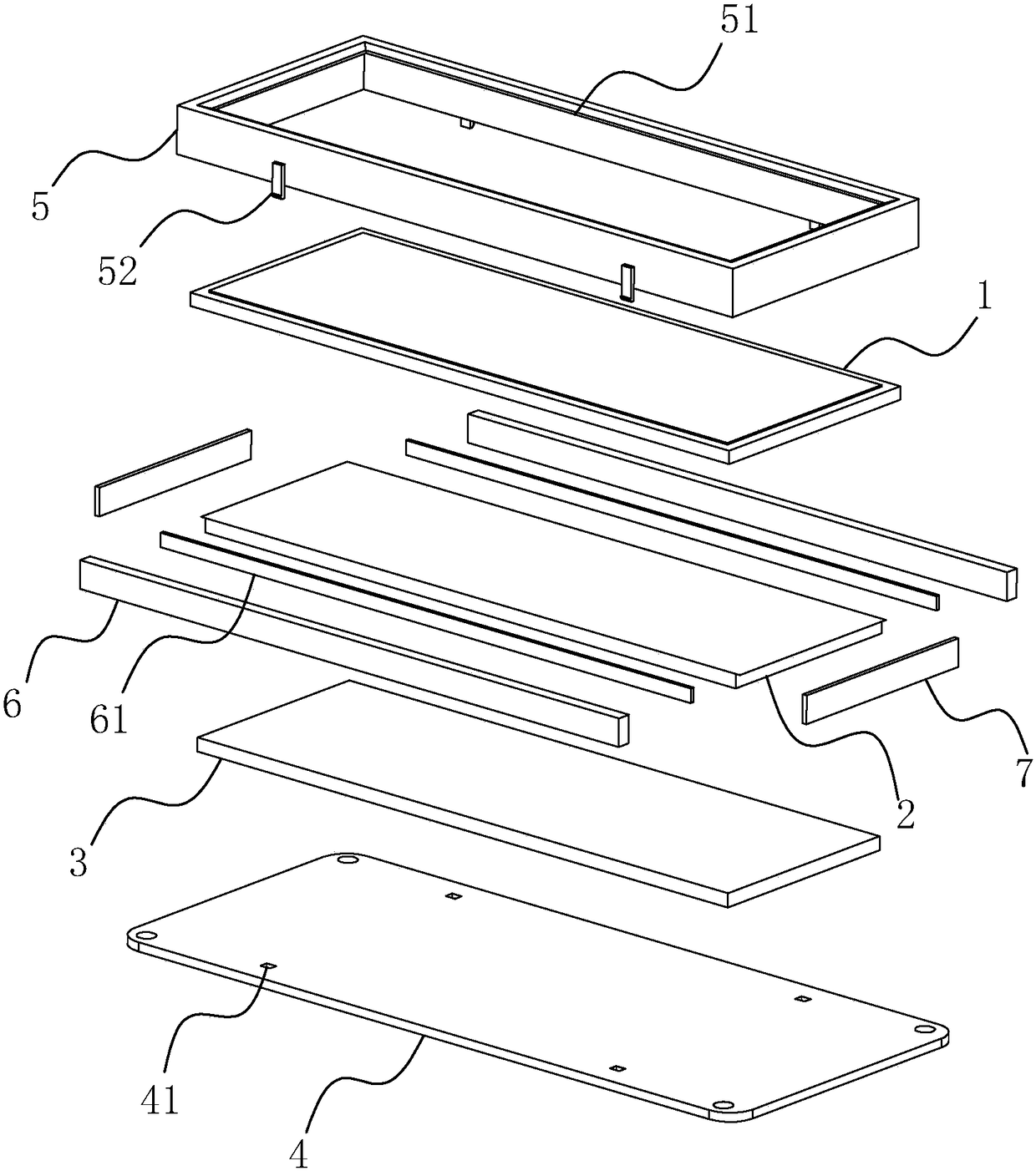
一种温控型液晶屏
授权日:
2018-12-07
公开(公告)号:
CN208207440U
申请日:
2018-02-02
公开(公告)日:
2018-12-07
当前申请(专利权)人:
北京华田信科电子有限公司
发明人:
索志雪 | 王珊
简单同族:
CN208207440U
简单同族成员数量:
1
简单同族被引用专利总数:
0
诉讼案件数:
0
法律状态/事件:
授权