首页
专利数据库
产业人才
行业动态
产业政策法规
维权援助
个人中心
登录/注册
详情
文本
图像
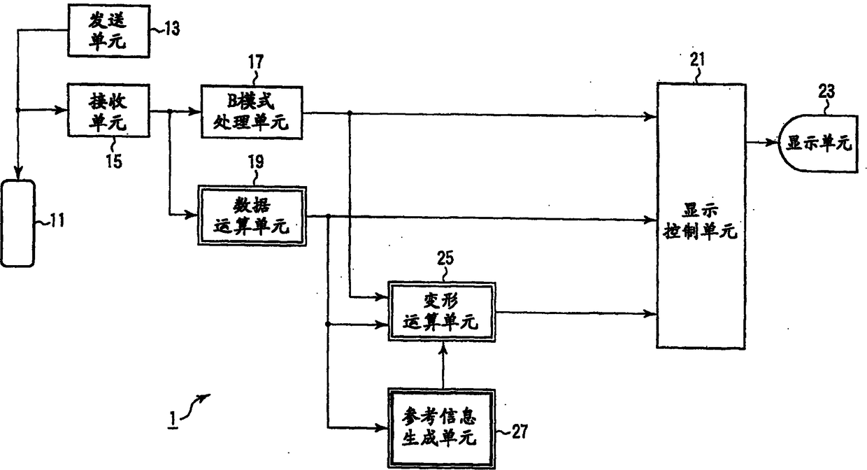
标题:
超声波诊断装置、超声波图像处理装置
授权日:
2012-09-12
公开(公告)号:
CN101730505B
申请日:
2009-02-25
公开(公告)日:
2012-09-12
当前申请(专利权)人:
东芝医疗系统株式会社
发明人:
阿部康彦
简单同族:
CN101730505A | CN101730505B | EP2138103A1 | EP2138103A4 | EP2138103B1 | JP2009195613A | JP5426101B2 | US20100041994A1 | US9451930 | WO2009107673A1
简单同族成员数量:
10
简单同族被引用专利总数:
53
诉讼案件数:
0
法律状态/事件:
授权 | 权利转移