首页
专利数据库
产业人才
行业动态
产业政策法规
维权援助
个人中心
登录/注册
详情
文本
图像
标题:
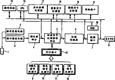
超声诊断设备
授权日:
2008-07-09
公开(公告)号:
CN100400001C
申请日:
2001-10-30
公开(公告)日:
2008-07-09
当前申请(专利权)人:
东芝医疗系统株式会社
发明人:
佐野昭洋 | 桥本敬介
简单同族:
CN100400001C | CN1239126C | CN1473023A | CN1701759A | EP1336378A1 | EP1336378A4 | EP1336378B1 | JP2002136512A | JP4664479B2 | US20030191389A1 | US7060032 | WO2002036014A1
简单同族成员数量:
12
简单同族被引用专利总数:
67
诉讼案件数:
0
法律状态/事件:
未缴年费 | 权利转移