首页
专利数据库
产业人才
行业动态
产业政策法规
维权援助
个人中心
登录/注册
详情
文本
图像
标题:
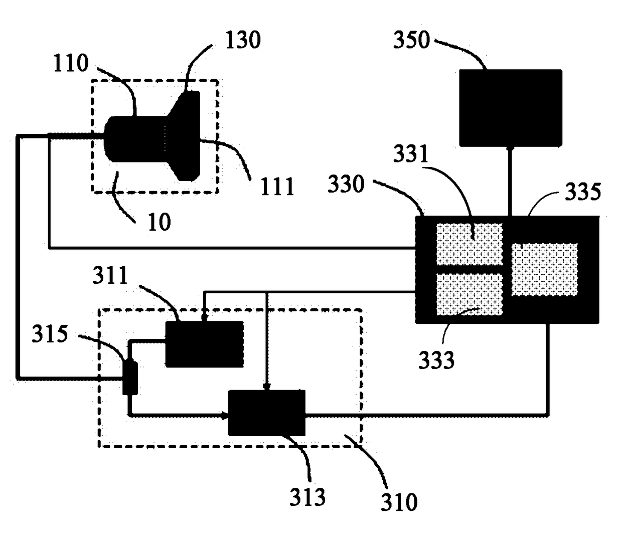
弹性测量的超声成像系统及测量生物组织弹性的方法
授权日:
1900-01-01
公开(公告)号:
CN102283679A
申请日:
2011-08-04
公开(公告)日:
2011-12-21
当前申请(专利权)人:
乐普(北京)医疗器械股份有限公司
发明人:
郑海荣 | 凌涛 | 李彦明 | 姚慧 | 曾成志
简单同族:
CN102283679A | CN102283679B | WO2013017105A1
简单同族成员数量:
3
简单同族被引用专利总数:
37
诉讼案件数:
0
法律状态/事件:
授权 | 权利转移