首页
专利数据库
产业人才
行业动态
产业政策法规
维权援助
个人中心
登录/注册
详情
文本
图像
标题:
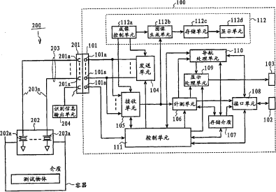
超声波探测器诊断装置、超声波诊断装置及超声波探测器诊断方法
授权日:
1900-01-01
公开(公告)号:
CN101152094A
申请日:
2005-08-31
公开(公告)日:
2008-04-02
当前申请(专利权)人:
东芝医疗系统株式会社
发明人:
熊泽孝司
简单同族:
CN100507552C | CN101152092A | CN101152092B | CN101152093A | CN101152093B | CN101152094A | CN101152094B | CN101254115A | CN101254115B | CN101254116A | CN101254116B | CN101327130A | CN101327130B | CN1743840A
简单同族成员数量:
14
简单同族被引用专利总数:
28
诉讼案件数:
0
法律状态/事件:
授权 | 权利转移