首页
专利数据库
产业人才
行业动态
产业政策法规
维权援助
个人中心
登录/注册
详情
文本
图像
标题:
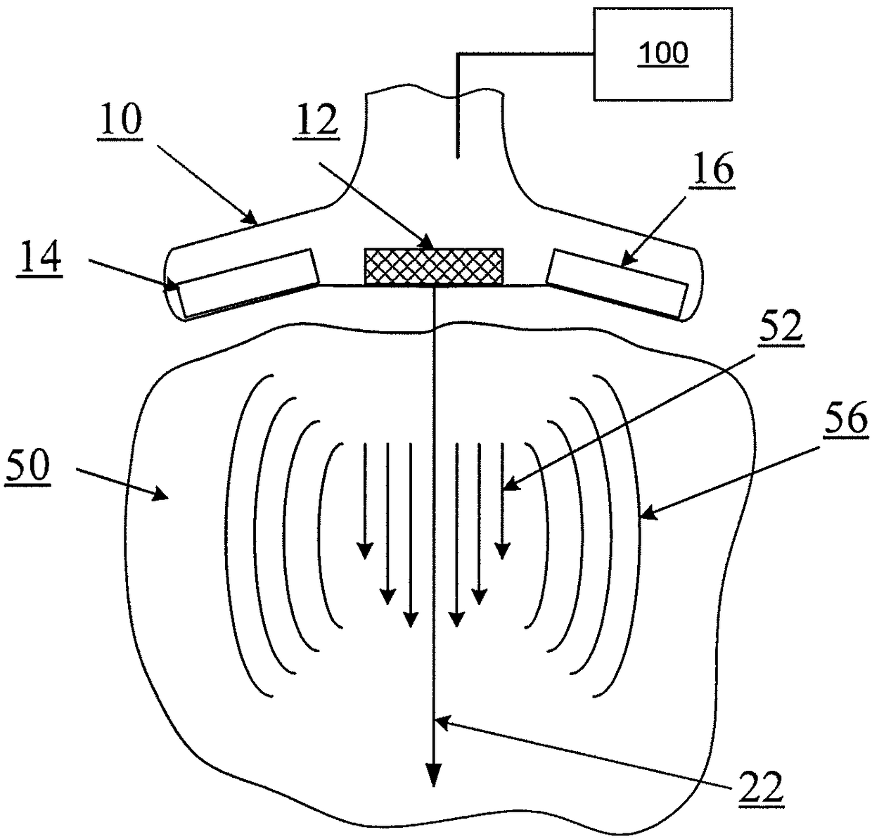
使用多孔超声确定材料刚度
授权日:
1900-01-01
公开(公告)号:
CN107028623A
申请日:
2013-02-21
公开(公告)日:
2017-08-11
当前申请(专利权)人:
毛伊图像公司
发明人:
D·F·施佩希特 | K·D·布鲁尔
简单同族:
CN104135937A | CN104135937B | CN107028623A | EP2816958A1 | EP2816958A4 | EP2816958B1 | HK1202038A | JP2015508012A | JP6438769B2 | KR1020140129246A | US10675000 | US20130218012A1 | US20160256134A1 | US9339256 | WO2013126559A1
简单同族成员数量:
15
简单同族被引用专利总数:
45
诉讼案件数:
0
法律状态/事件:
实质审查