首页
专利数据库
产业人才
行业动态
产业政策法规
维权援助
个人中心
登录/注册
详情
文本
图像
标题:
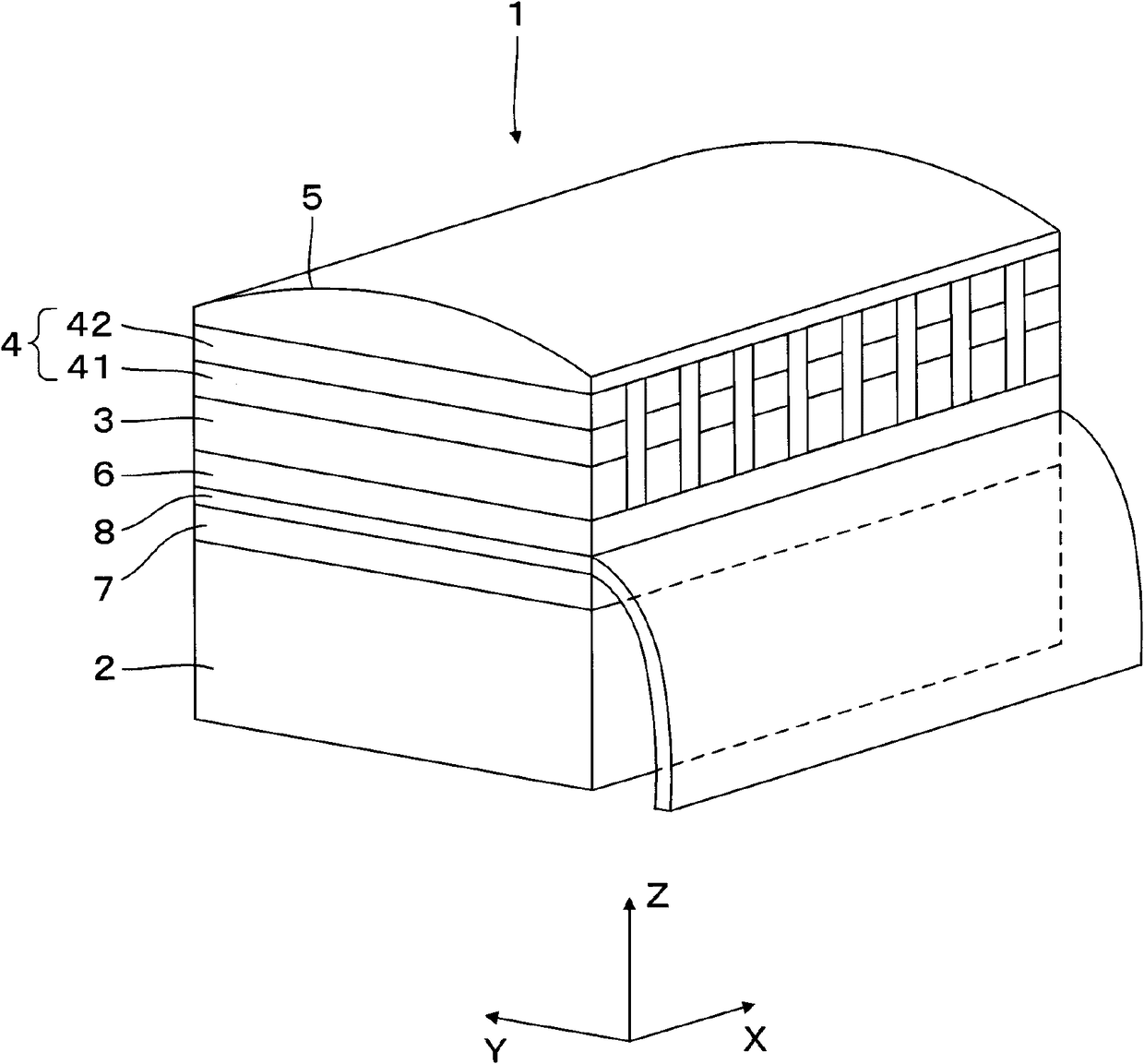
超声波探头及超声波诊断装置
授权日:
1900-01-01
公开(公告)号:
CN102327128A
申请日:
2011-06-30
公开(公告)日:
2012-01-25
当前申请(专利权)人:
株式会社东芝 | 东芝医疗系统株式会社
发明人:
青木稔 | 芝本弘一 | 都筑健太郎 | 武内俊 | 四方浩之
简单同族:
CN102327128A | EP2401966A1 | JP2012015680A | US20120004554A1
简单同族成员数量:
4
简单同族被引用专利总数:
25
诉讼案件数:
0
法律状态/事件:
撤回