首页
专利数据库
产业人才
行业动态
产业政策法规
维权援助
个人中心
登录/注册
详情
文本
图像
标题:
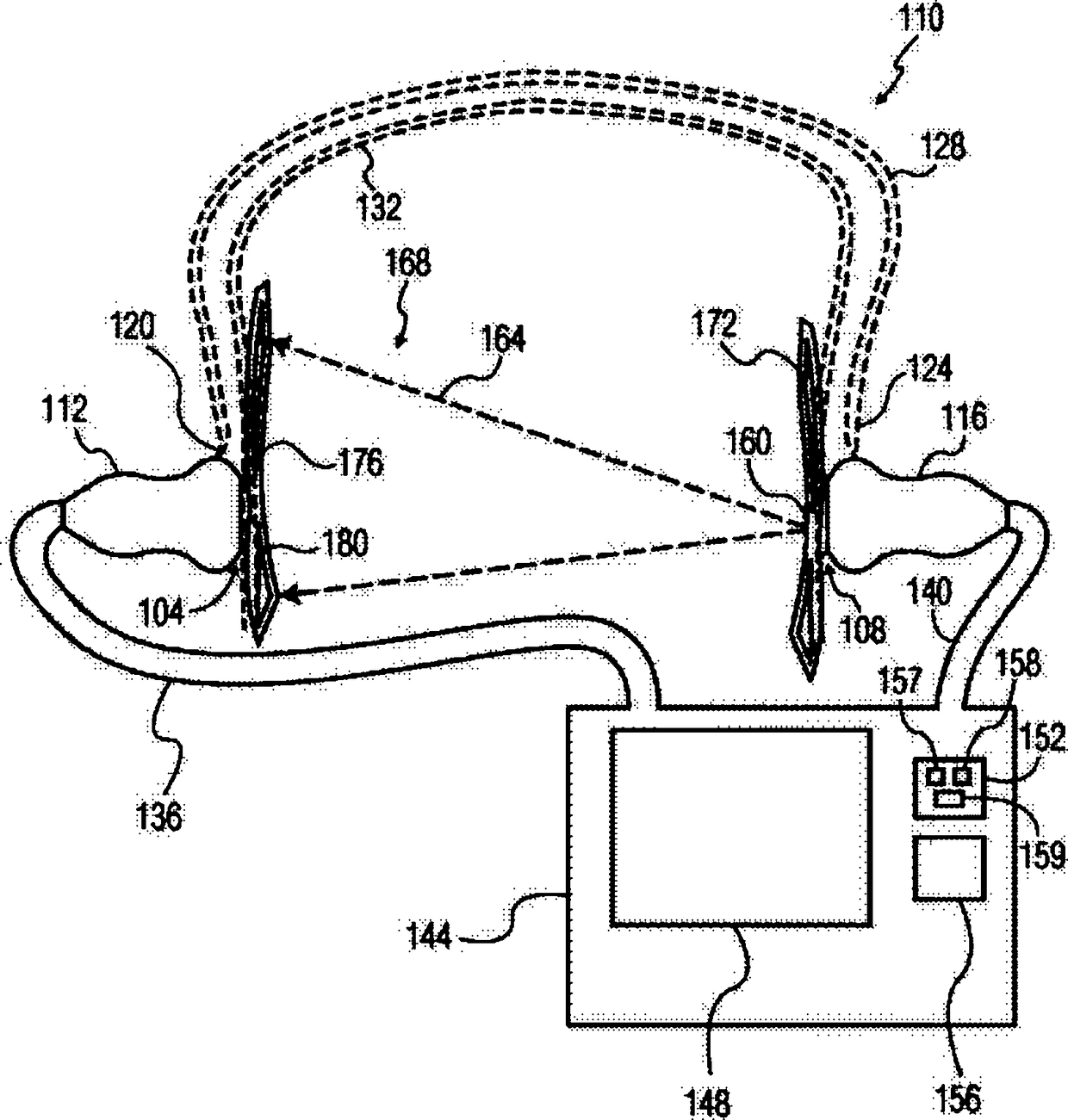
对经颅超声畸变的基于对侧阵列的校正
授权日:
1900-01-01
公开(公告)号:
CN102576527A
申请日:
2010-08-25
公开(公告)日:
2012-07-11
当前申请(专利权)人:
皇家飞利浦电子股份有限公司
发明人:
W·T·史 | F·G·G·M·维尼翁 | J·E·鲍尔斯 | B·S·鲁滨逊 | M·R·伯切 | V·沙姆达莎尼
简单同族:
BR112012004536A2 | CN102576527A | EP2473993A1 | JP2013503681A | RU2012112798A | US20120165670A1 | WO2011027264A1
简单同族成员数量:
7
简单同族被引用专利总数:
71
诉讼案件数:
0
法律状态/事件:
撤回