首页
专利数据库
产业人才
行业动态
产业政策法规
维权援助
个人中心
登录/注册
详情
文本
图像
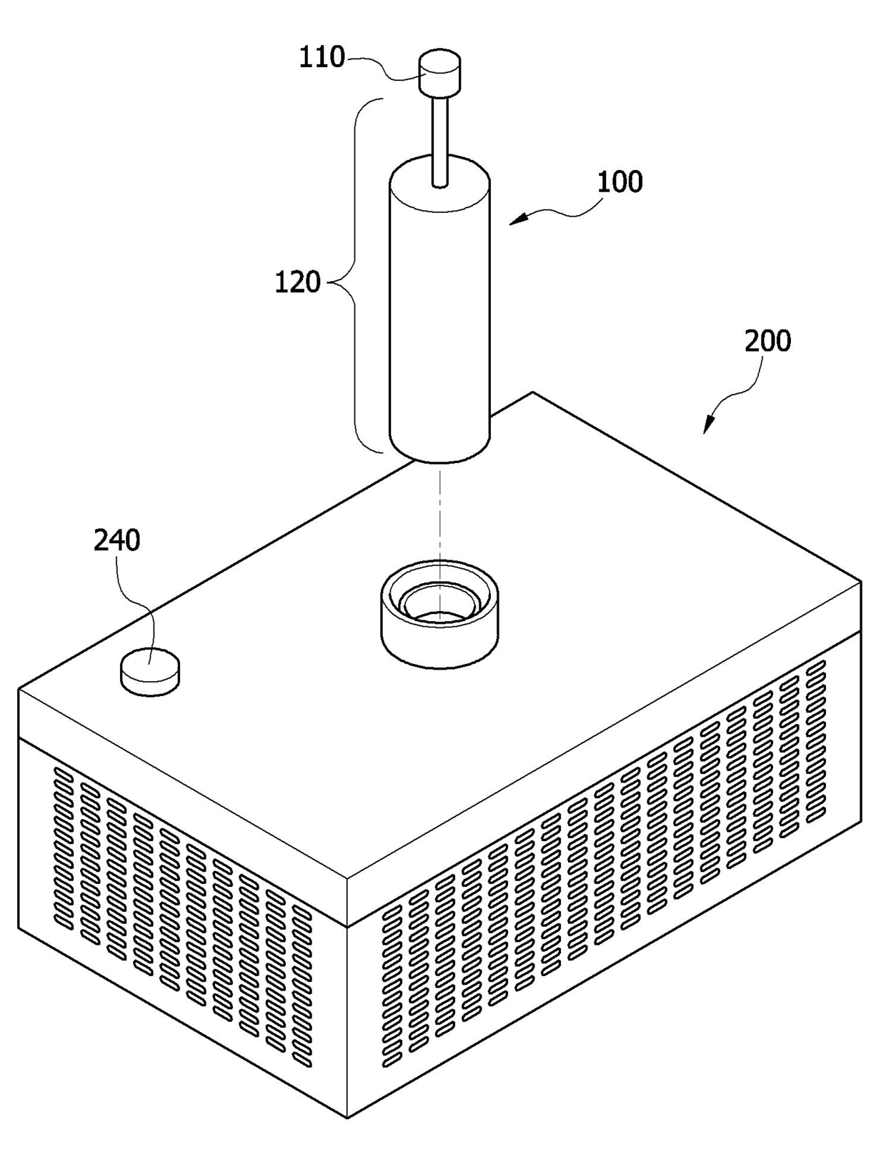
标题:
발명의 명칭 냉, 온각 검사 기능을 가지는 의료기기 시스템
授权日:
2014-12-22
公开(公告)号:
KR101477347B1
申请日:
2012-09-26
公开(公告)日:
2014-12-30
当前申请(专利权)人:
동국대학교 산학협력단 | 연세대학교 산학협력단
发明人:
김성민 | 조신연 | 정일영 | 김용찬
简单同族:
KR101477347B1 | KR1020140040499A
简单同族成员数量:
2
简单同族被引用专利总数:
0
诉讼案件数:
0
法律状态/事件:
授权