首页
专利数据库
产业人才
行业动态
产业政策法规
维权援助
个人中心
登录/注册
详情
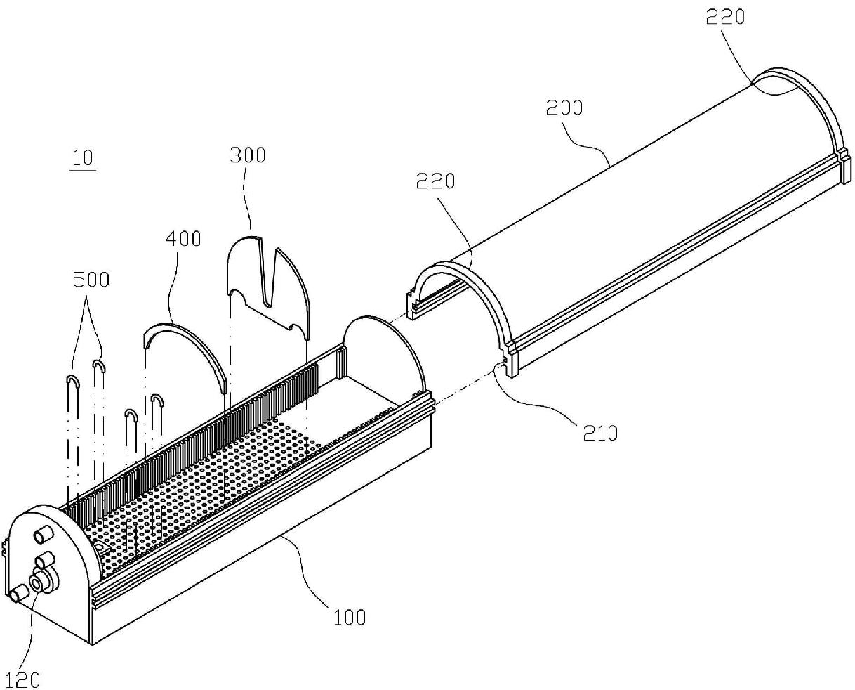
文本
图像
标题:
실험용 쥐의 영상촬영용 고정장치
授权日:
2019-06-07
公开(公告)号:
KR101989226B1
申请日:
2017-06-21
公开(公告)日:
2019-06-13
当前申请(专利权)人:
동아대학교 산학협력단
发明人:
강도영 | 윤현진 | 정영진
简单同族:
KR101989226B1 | KR1020180138392A
简单同族成员数量:
2
简单同族被引用专利总数:
0
诉讼案件数:
0
法律状态/事件:
授权