标题:
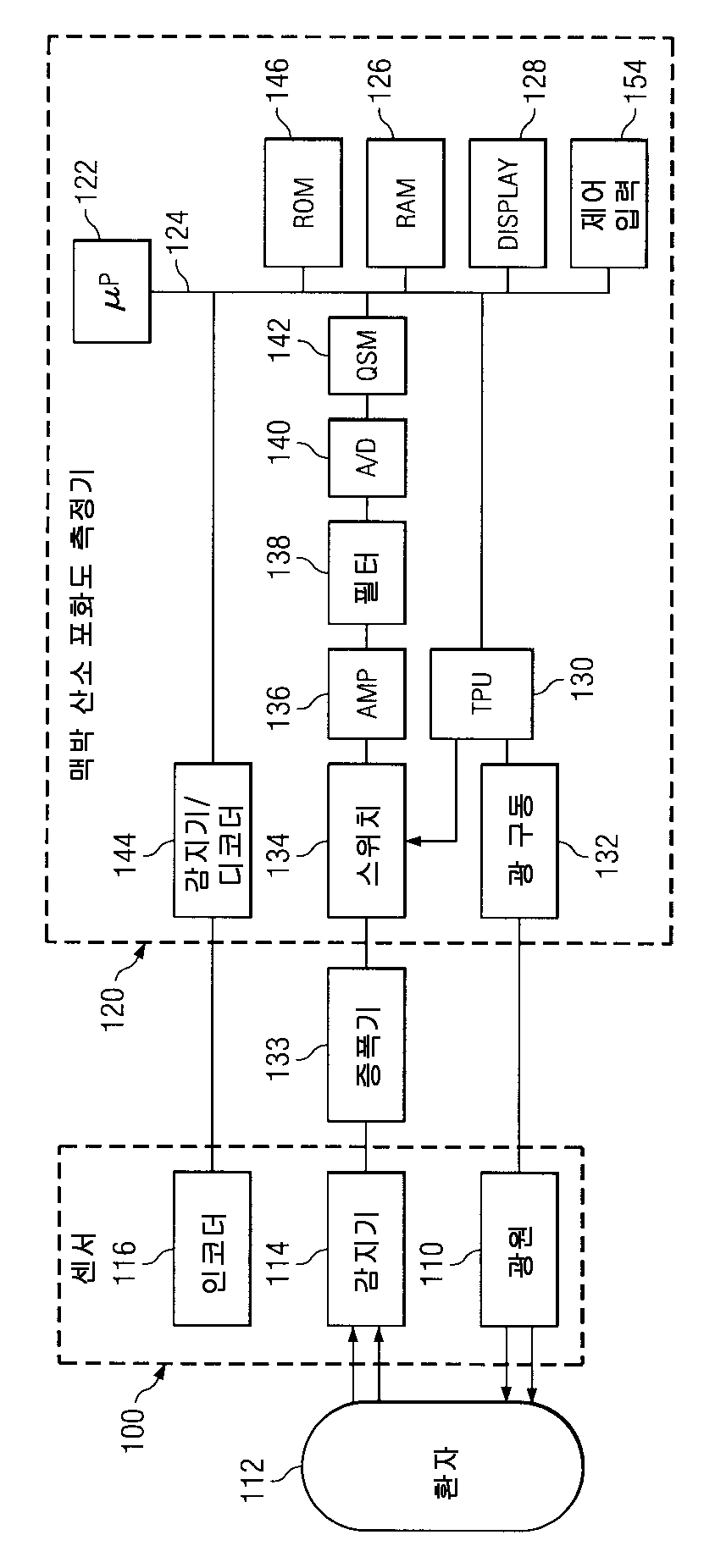
맥박 산소 포화도 측정기에서 신호 특성 메트릭에 기초한앙상블 평균화 가중치의 선택
授权日:
1900-01-01
公开(公告)号:
KR1020060134112A
申请日:
2005-03-07
公开(公告)日:
2006-12-27
当前申请(专利权)人:
넬커 퓨리탄 베네트 엘엘씨
发明人:
BAKER JR, CLARK, R.
简单同族:
AU2005221652A1 | CA2557240A1 | CA2557240C | CN1929779A | EP1729631A1 | EP1729631B1 | EP2260758A2 | EP2260758A3 | EP2260758A9 | HK1100520A | JP2007527772A | KR1020060134112A | MXPA06010306A | US20050197549A1 | US20070208242A1 | US20090082651A1 | US20110092785A1 | US20140031652A1 | US7194293 | US7474907 | US7890154 | US8560036 | US9211090 | WO2005087095A1
简单同族成员数量:
24
简单同族被引用专利总数:
163
诉讼案件数:
0
法律状态/事件:
撤回