首页
专利数据库
产业人才
行业动态
产业政策法规
维权援助
个人中心
登录/注册
详情
文本
图像
标题:
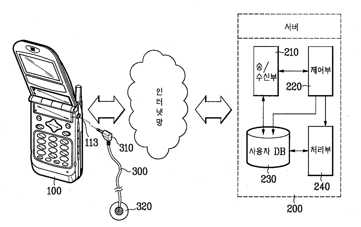
건강 상태 검사기능을 갖는 휴대용 무선 단말기 및 이를이용한 건강 상태 검사 방법
授权日:
1900-01-01
公开(公告)号:
KR1020020080763A
申请日:
2001-04-17
公开(公告)日:
2002-10-26
当前申请(专利权)人:
엘지전자 주식회사
发明人:
권오성
简单同族:
CN1325014C | CN1381219A | KR100797458B1 | KR1020020080763A | US20020148477A1 | US20050208969A1 | US6903657 | US7259681
简单同族成员数量:
8
简单同族被引用专利总数:
195
诉讼案件数:
0
法律状态/事件:
未缴年费