首页
专利数据库
产业人才
行业动态
产业政策法规
维权援助
个人中心
登录/注册
详情
文本
图像
标题:
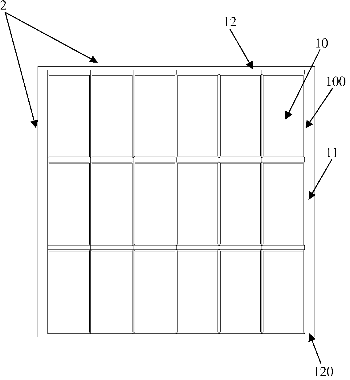
液晶面板结构及液晶面板
授权日:
2013-07-24
公开(公告)号:
CN203084382U
申请日:
2013-01-17
公开(公告)日:
2013-07-24
当前申请(专利权)人:
京东方科技集团股份有限公司 | 北京京东方光电科技有限公司
发明人:
李乃升 | 张晓峰 | 张琦
简单同族:
CN203084382U
简单同族成员数量:
1
简单同族被引用专利总数:
0
诉讼案件数:
0
法律状态/事件:
授权 | 权利转移