标题:
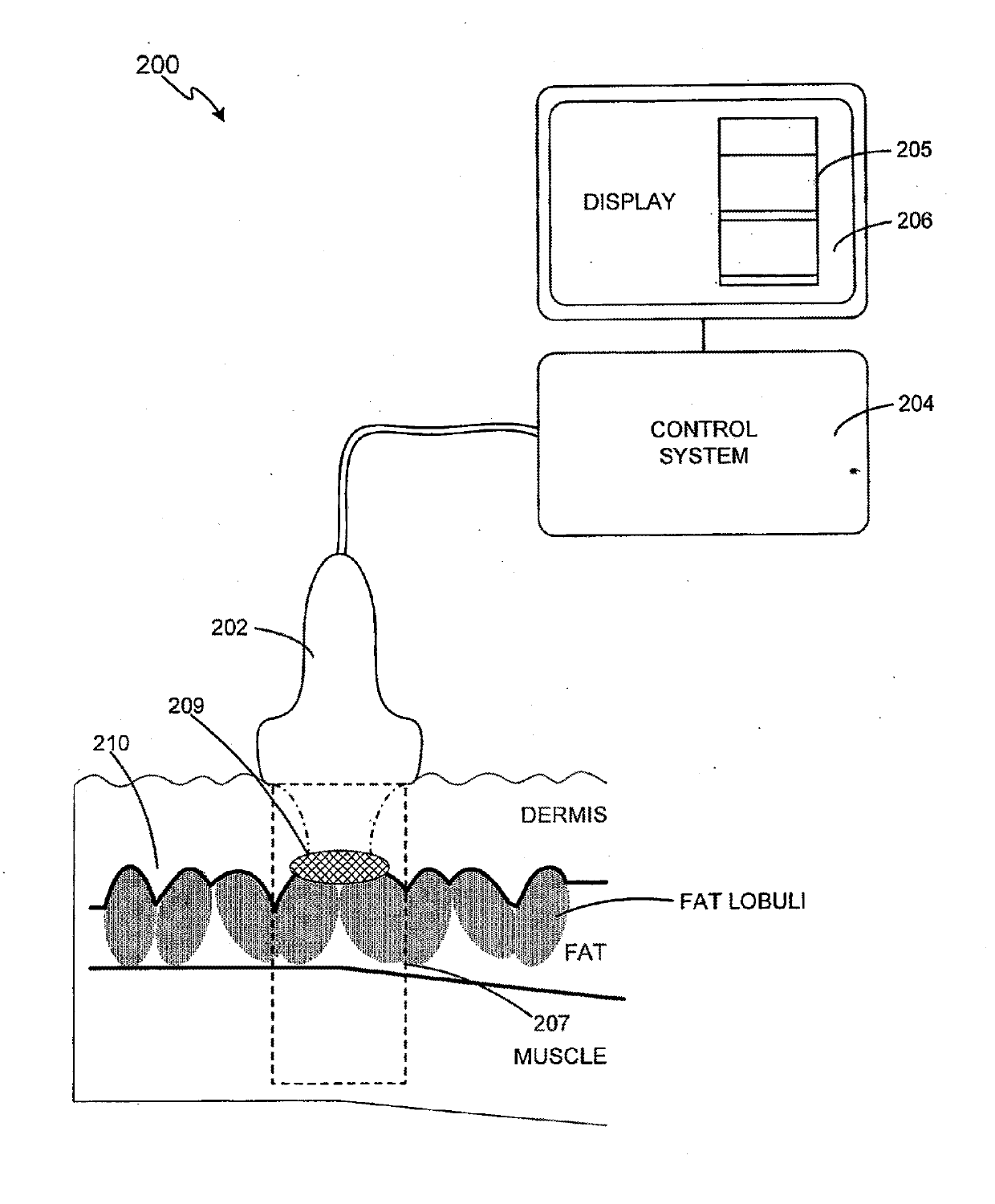
Energy based fat reduction
授权日:
1900-01-01
公开(公告)号:
US20190184203A1
申请日:
2019-02-11
公开(公告)日:
2019-06-20
当前申请(专利权)人:
GUIDED THERAPY SYSTEMS, LLC
发明人:
SLAYTON, MICHAEL H. | BARTHE, PETER G.
简单同族:
CA2748362A1 | EP2382010A2 | EP2382010A4 | JP2012513837A | KR1020110101204A | US10010721 | US10238894 | US10603519 | US20100160782A1 | US20140180174A1 | US20150088182A1 | US20160158580A1 | US20170095680A1 | US20170312549A1 | US20180104515A1 | US20180272156A1 | US20190184203A1 | US20200179727A1 | US8663112 | US8920324 | US9283409 | US9533175 | US9713731 | US9833639 | WO2010075547A2 | WO2010075547A9
简单同族成员数量:
26
简单同族被引用专利总数:
174
诉讼案件数:
0
法律状态/事件:
授权 | 权利转移