首页
专利数据库
产业人才
行业动态
产业政策法规
维权援助
个人中心
登录/注册
详情
文本
图像
标题:
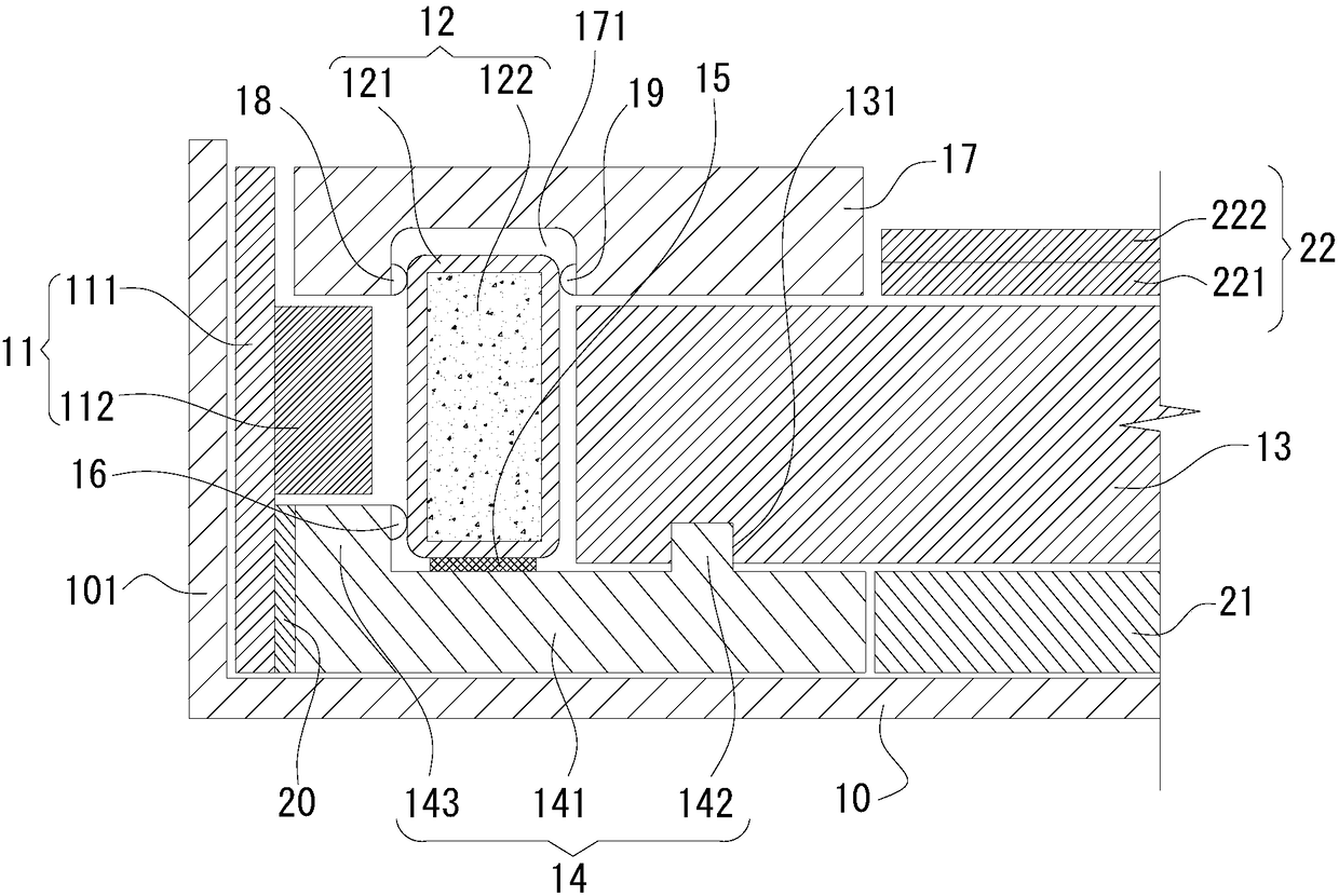
量子点背光源及具有它的液晶显示屏
授权日:
2018-09-07
公开(公告)号:
CN207833180U
申请日:
2017-10-30
公开(公告)日:
2018-09-07
当前申请(专利权)人:
深圳市巨世科技股份有限公司
发明人:
易锌权
简单同族:
CN207833180U
简单同族成员数量:
1
简单同族被引用专利总数:
0
诉讼案件数:
0
法律状态/事件:
授权