首页
专利数据库
产业人才
行业动态
产业政策法规
维权援助
个人中心
登录/注册
详情
文本
图像
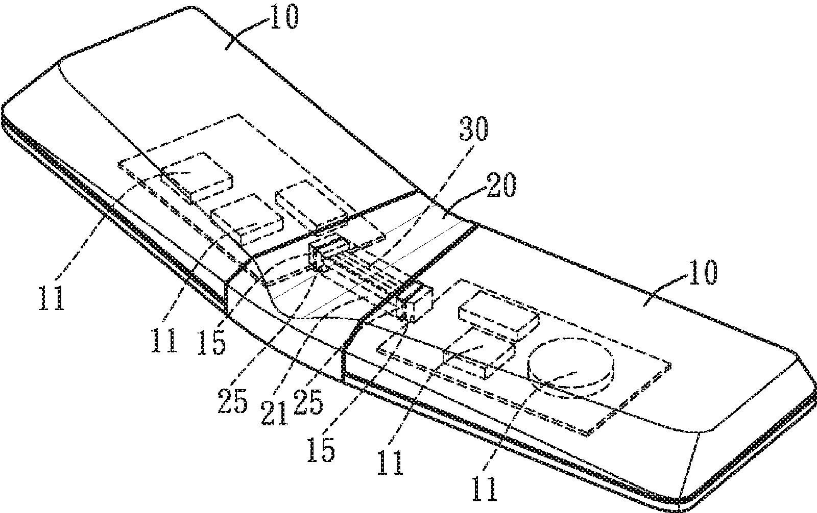
标题:
Flexible apparatus
授权日:
1900-01-01
公开(公告)号:
US20180092598A1
申请日:
2016-10-03
公开(公告)日:
2018-04-05
当前申请(专利权)人:
KING'S METAL FIBER TECHNOLOGIES CO., LTD.
发明人:
CHEN, RENG SHO | LIAO, SHU FEN | KANG, YU HSUN
简单同族:
US20180092598A1
简单同族成员数量:
1
简单同族被引用专利总数:
0
诉讼案件数:
0
法律状态/事件:
实质审查 | 权利转移