首页
专利数据库
产业人才
行业动态
产业政策法规
维权援助
个人中心
登录/注册
详情
文本
图像
标题:
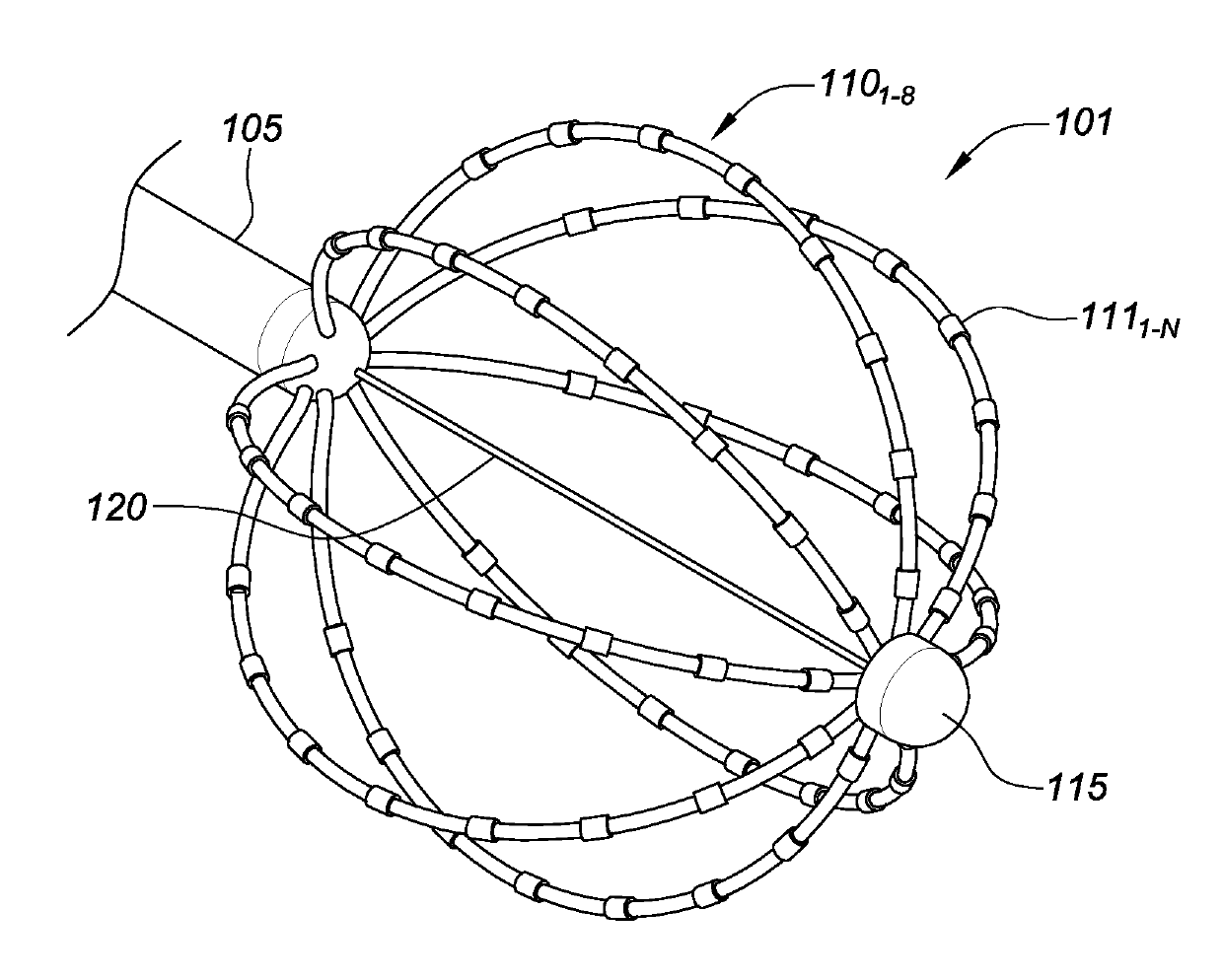
Variable density mapping catheter
授权日:
1900-01-01
公开(公告)号:
US20190282116A1
申请日:
2019-03-05
公开(公告)日:
2019-09-19
当前申请(专利权)人:
ST. JUDE MEDICAL, CARDIOLOGY DIVISION, INC.
发明人:
OLSON, GREGORY K.
简单同族:
US20190282116A1 | WO2019177809A1
简单同族成员数量:
2
简单同族被引用专利总数:
0
诉讼案件数:
0
法律状态/事件:
公开