标题:
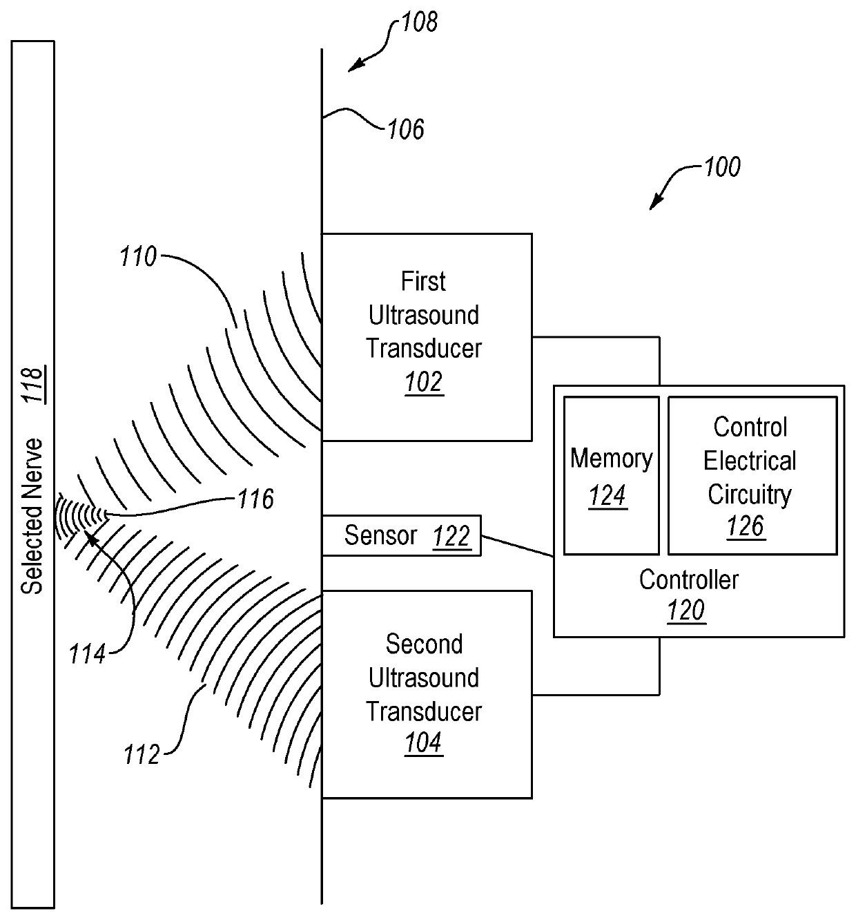
Nerve modulation devices and related methods
授权日:
1900-01-01
公开(公告)号:
US20200016435A1
申请日:
2018-07-11
公开(公告)日:
2020-01-16
当前申请(专利权)人:
ELWHA LLC
发明人:
BOWERS, JEFFREY A. | DUESTERHOFT, PAUL | HAWKINS, DANIEL | HYDE, RODERICK A. | JUNG, EDWARD K.Y. | KARE, JORDIN T. | LEUTHARDT, ERIC C. | MYHRVOLD, NATHAN P. | PIERCE, JAY | SHARADIN, KATHERINE E. | SMITH, MICHAEL A. | STEIN, MARC | SWEENEY, ELIZABETH A. | TEGREENE, CLARENCE T. | WOOD, JR., LOWELL L.
简单同族:
US20200016435A1 | WO2020014317A1
简单同族成员数量:
2
简单同族被引用专利总数:
0
诉讼案件数:
0
法律状态/事件:
公开 | 权利转移