首页
专利数据库
产业人才
行业动态
产业政策法规
维权援助
个人中心
登录/注册
详情
文本
图像
标题:
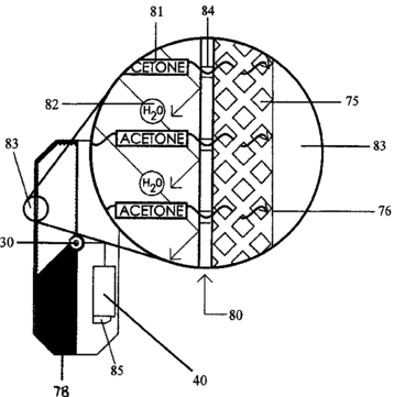
Device for determining fat expenditure from levels of ketone bodies that have passed through the skin and methods for determining the same
授权日:
2018-07-24
公开(公告)号:
US10028685
申请日:
2016-03-16
公开(公告)日:
2018-07-24
当前申请(专利权)人:
DETURK, STEPHEN
发明人:
DETURK, STEPHEN
简单同族:
US10028685 | US20160270704A1
简单同族成员数量:
2
简单同族被引用专利总数:
0
诉讼案件数:
0
法律状态/事件:
授权