首页
专利数据库
产业人才
行业动态
产业政策法规
维权援助
个人中心
登录/注册
详情
文本
图像
标题:
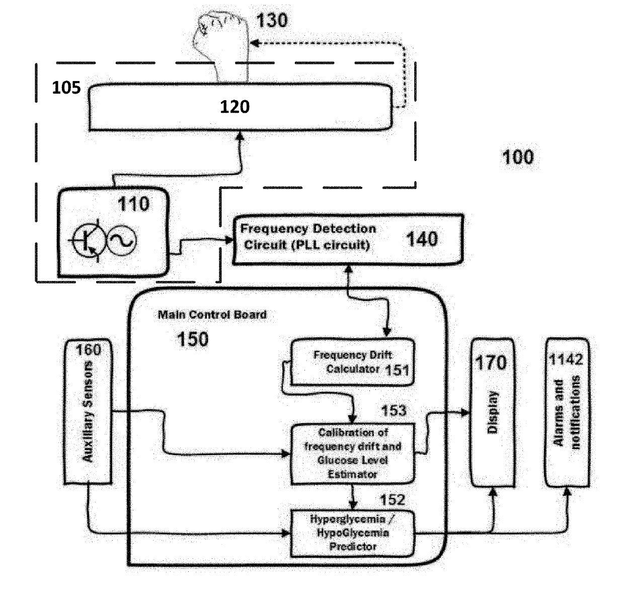
System and method for non-invasive continuous real-time blood glucose monitoring
授权日:
1900-01-01
公开(公告)号:
US20190142313A1
申请日:
2018-11-09
公开(公告)日:
2019-05-16
当前申请(专利权)人:
GLUCO-Z GMBH
发明人:
ABOU ISMAIL, NAJIB KHALED | AIZEIN, ALI MOHAMAD | HAROUN, MOHAMMAD HASSAN FADI
简单同族:
US20190142313A1 | WO2019094820A1
简单同族成员数量:
2
简单同族被引用专利总数:
0
诉讼案件数:
0
法律状态/事件:
实质审查 | 权利转移