首页
专利数据库
产业人才
行业动态
产业政策法规
维权援助
个人中心
登录/注册
详情
文本
图像
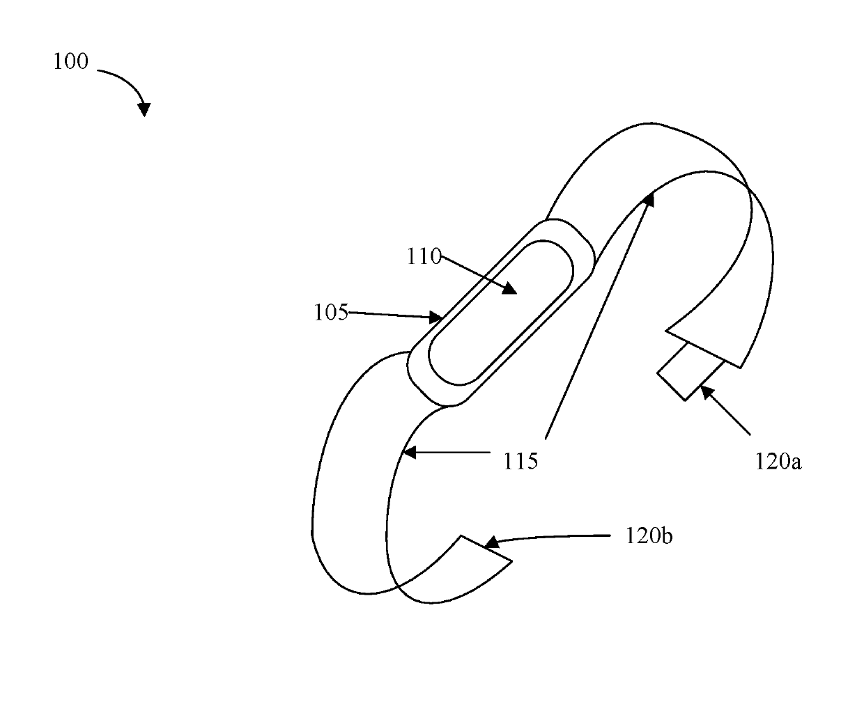
标题:
Identification bracelet and methods
授权日:
2019-05-14
公开(公告)号:
US10292035
申请日:
2018-03-07
公开(公告)日:
2019-05-14
当前申请(专利权)人:
JONES, GAIL YVETTE
发明人:
JONES, GAIL YVETTE
简单同族:
US10292035 | US20180262898A1
简单同族成员数量:
2
简单同族被引用专利总数:
0
诉讼案件数:
0
法律状态/事件:
授权