首页
专利数据库
产业人才
行业动态
产业政策法规
维权援助
个人中心
登录/注册
详情
文本
图像
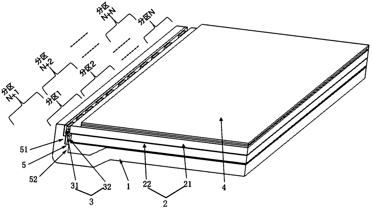
标题:
一种实现HDR分区的侧入式背光模组及液晶显示装置
授权日:
1900-01-01
公开(公告)号:
CN108897166A
申请日:
2018-07-19
公开(公告)日:
2018-11-27
当前申请(专利权)人:
东莞市豪顺精密科技有限公司
发明人:
郝建广 | 韩长远 | 余海波 | 姚敦红 | 徐佳 | 胡耿彬
简单同族:
CN108897166A
简单同族成员数量:
1
简单同族被引用专利总数:
0
诉讼案件数:
0
法律状态/事件:
实质审查