首页
专利数据库
产业人才
行业动态
产业政策法规
维权援助
个人中心
登录/注册
详情
文本
图像
标题:
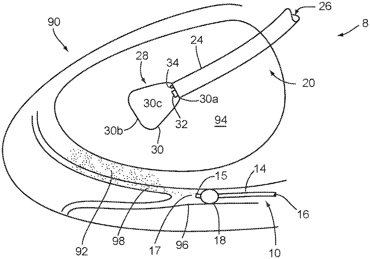
Apparatus, systems, and methods for delivering agents into a patient's body
授权日:
2020-04-28
公开(公告)号:
US10632247
申请日:
2015-01-23
公开(公告)日:
2020-04-28
当前申请(专利权)人:
CLPH, LLC
发明人:
WOODS, CHRISTOPHER E. | EVERSULL, CHRISTIAN S. | LEEFLANG, STEPHEN A.
简单同族:
US10632247
简单同族成员数量:
1
简单同族被引用专利总数:
0
诉讼案件数:
0
法律状态/事件:
授权