标题:
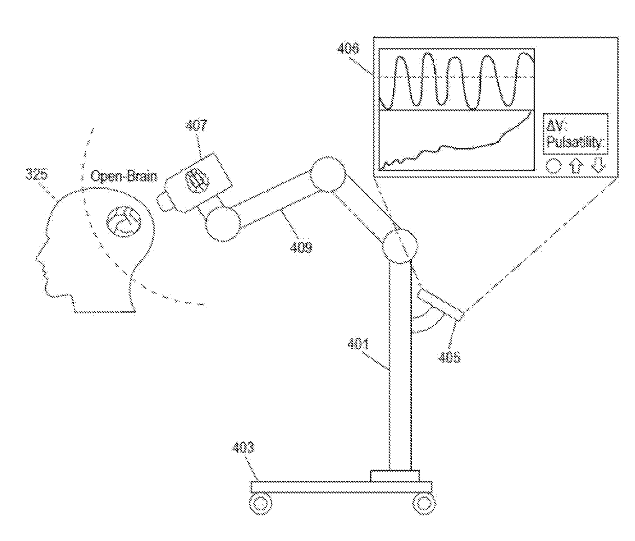
Pulsatility measurement and monitoring
授权日:
1900-01-01
公开(公告)号:
US20190254584A1
申请日:
2019-02-21
公开(公告)日:
2019-08-22
当前申请(专利权)人:
RUTGERS, THE STATE UNIVERSITY OF NEW JERSEY | THE TRUSTEES OF THE STEVENS INSTITUTE OF TECHNOLOGY
发明人:
ATLAS, GLEN | DE ABREU PINEDA, MARIA V. | FALCONE, ANDREW | FERRARA, DAVID J. | HAZELWOOD, VIKKI
简单同族:
US20190254584A1
简单同族成员数量:
1
简单同族被引用专利总数:
0
诉讼案件数:
0
法律状态/事件:
公开 | 权利转移