首页
专利数据库
产业人才
行业动态
产业政策法规
维权援助
个人中心
登录/注册
详情
文本
图像
标题:
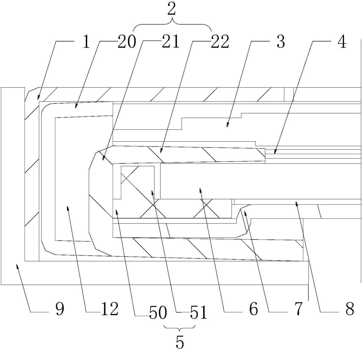
一种卡合型液晶显示模组
授权日:
2018-07-06
公开(公告)号:
CN207586596U
申请日:
2017-12-14
公开(公告)日:
2018-07-06
当前申请(专利权)人:
武汉恒生光电产业有限公司
发明人:
陈嘉明 | 傅世杰 | 李健铭 | 许守鹍 | 胡腾飞
简单同族:
CN207586596U
简单同族成员数量:
1
简单同族被引用专利总数:
0
诉讼案件数:
0
法律状态/事件:
授权