标题:
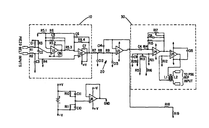
Apparatus and method for adapting a piezoelectric respiratory sensing belt to a respiratory inductance plethysmography polysomnograph
授权日:
2017-08-08
公开(公告)号:
US9724020
申请日:
2014-05-02
公开(公告)日:
2017-08-08
当前申请(专利权)人:
DYMEDIX CORPORATION
发明人:
BOWMAN, BRUCE R. | PICKARD, ALLEN J. | STASZ, PETER
简单同族:
US20140330156A1 | US9724020
简单同族成员数量:
2
简单同族被引用专利总数:
0
诉讼案件数:
0
法律状态/事件:
授权 | 权利转移