首页
专利数据库
产业人才
行业动态
产业政策法规
维权援助
个人中心
登录/注册
详情
文本
图像
标题:
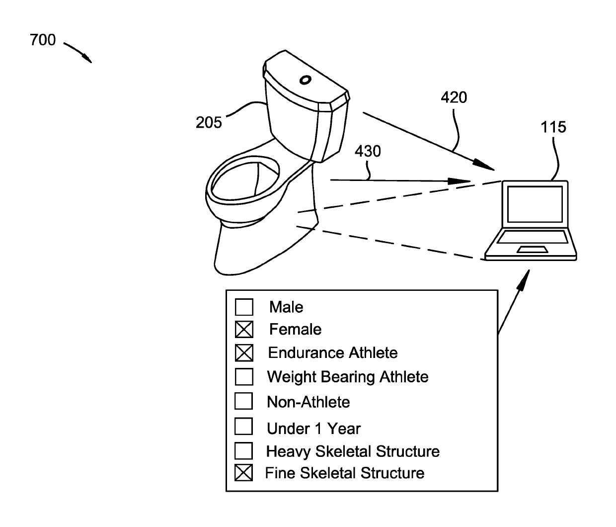
Medical toilet with user customized health metric validation system
授权日:
2019-10-15
公开(公告)号:
US10441252
申请日:
2016-11-23
公开(公告)日:
2019-10-15
当前申请(专利权)人:
MEDIC, INC.
发明人:
HALL, DAVID R. | ALLEN, DAN | KANG, MIN | SWENSON, BEN | PEARMAN, TERRECE
简单同族:
US10441252 | US20180140284A1
简单同族成员数量:
2
简单同族被引用专利总数:
0
诉讼案件数:
0
法律状态/事件:
授权 | 权利转移