首页
专利数据库
产业人才
行业动态
产业政策法规
维权援助
个人中心
登录/注册
详情
文本
图像
标题:
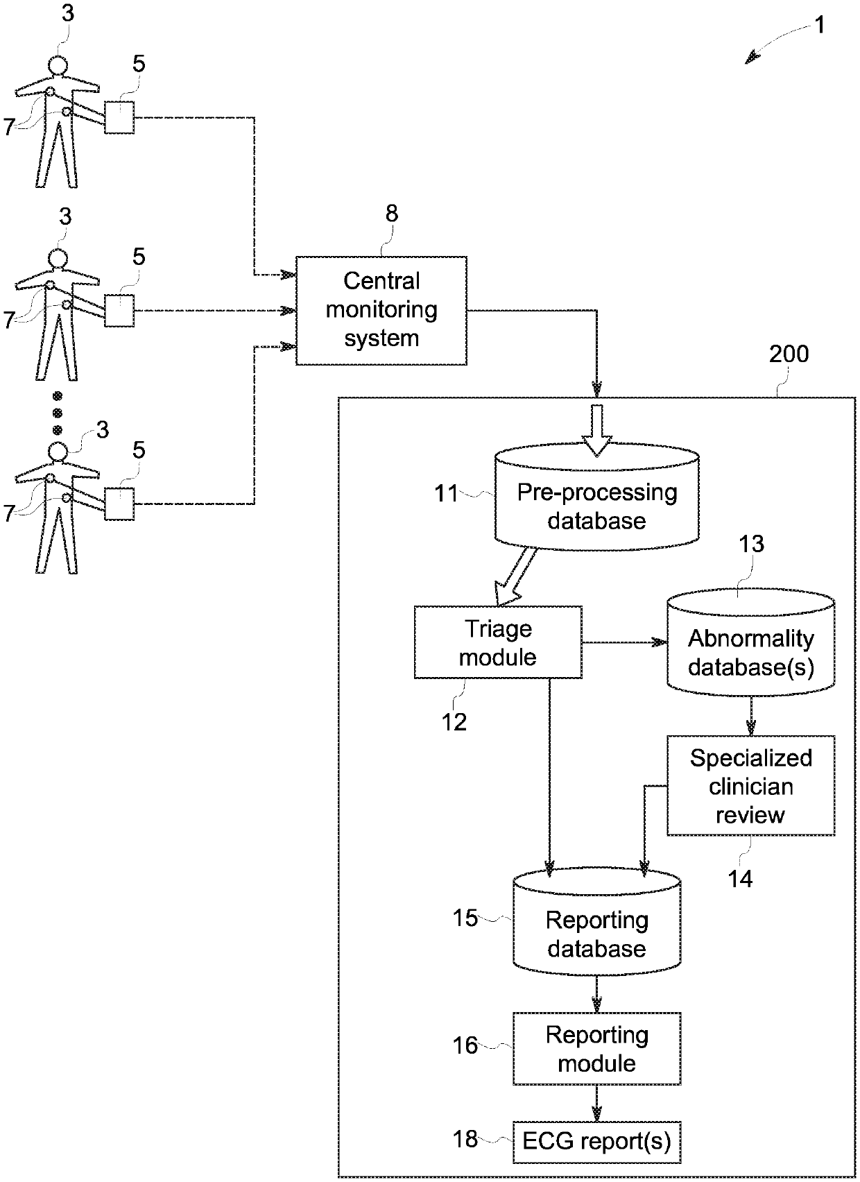
System and method for processing ECG recordings from multiple patients
授权日:
2020-06-23
公开(公告)号:
US10687726
申请日:
2017-11-07
公开(公告)日:
2020-06-23
当前申请(专利权)人:
GENERAL ELECTRIC COMPANY
发明人:
XUE, JOEL Q. | LANGER, MARK GILBERT
简单同族:
US10687726 | US20190133483A1
简单同族成员数量:
2
简单同族被引用专利总数:
0
诉讼案件数:
0
法律状态/事件:
授权 | 权利转移