标题:
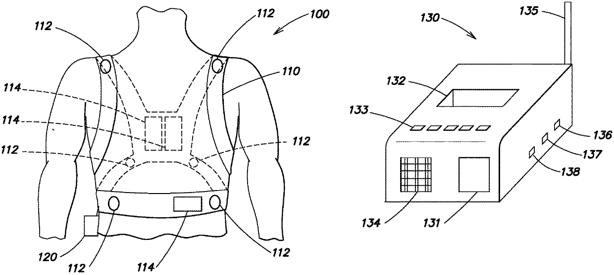
Remote medical device alarm
授权日:
1900-01-01
公开(公告)号:
US20200114159A1
申请日:
2019-10-28
公开(公告)日:
2020-04-16
当前申请(专利权)人:
ZOLL MEDICAL CORPORATION
发明人:
KAIB, THOMAS E. | VOLPE, SHANE S. | RATTANNI, RICHARD A.
简单同族:
EP2638530A1 | JP2014502448A | JP2014502448A5 | JP2016209603A | JP2018075416A | JP2019088794A | JP5950924B2 | JP6270915B2 | JP6453433B2 | US10159849 | US10485982 | US20120112903A1 | US20150109125A1 | US20180110996A1 | US20190091482A1 | US20200114159A1 | US9925387 | US9937355 | WO2012064604A1
简单同族成员数量:
19
简单同族被引用专利总数:
211
诉讼案件数:
0
法律状态/事件:
公开 | 权利转移