首页
专利数据库
产业人才
行业动态
产业政策法规
维权援助
个人中心
登录/注册
详情
文本
图像
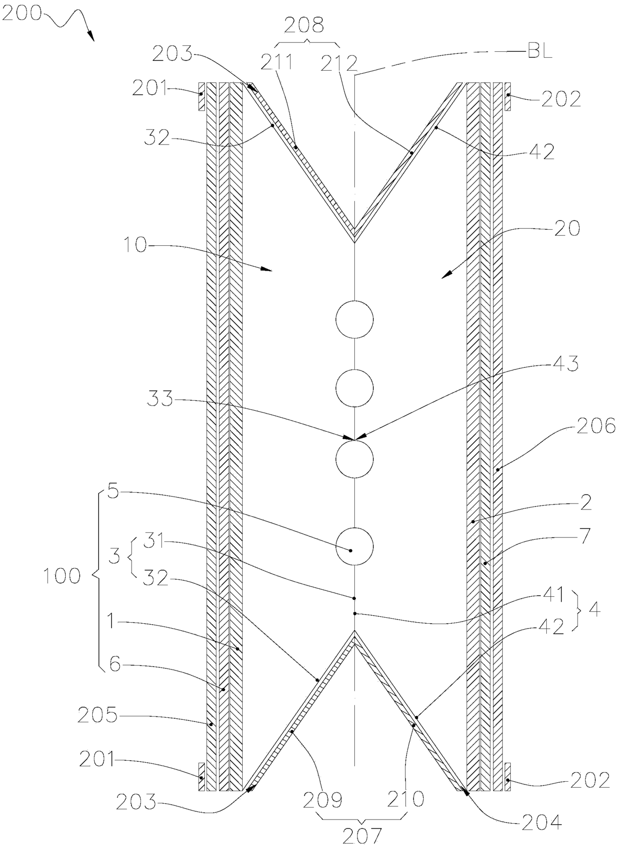
标题:
双面发光背光模组和显示装置
授权日:
1900-01-01
公开(公告)号:
CN105676533A
申请日:
2016-03-30
公开(公告)日:
2016-06-15
当前申请(专利权)人:
合肥惠科金扬科技有限公司
发明人:
王智勇 | 肖葵 | 尹鸽
简单同族:
CN105676533A
简单同族成员数量:
1
简单同族被引用专利总数:
0
诉讼案件数:
0
法律状态/事件:
驳回