标题:
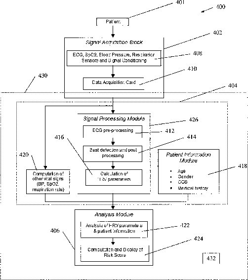
System and method for predicting acute cardiopulmonary events and survivability of a patient
授权日:
1900-01-01
公开(公告)号:
US20150150468A1
申请日:
2015-02-06
公开(公告)日:
2015-06-04
当前申请(专利权)人:
SINGAPORE HEALTH SERVICES PTE LTD. | NANYANG TECHNOLOGICAL UNIVERSITY
发明人:
ONG, MARCUS ENG HOCK | LIN, ZHIPING | SER, WEE | HUANG, GUANGBIN
简单同族:
CN103038772A | CN103038772B | CN107742534A | EP2534597A2 | EP2534597B1 | EP3435262A1 | JP2013524865A | JP2013524865A5 | JP2017077461A | JP2018173962A | JP6159250B2 | JP6407933B2 | JP6567728B2 | SG10201501889WA | SG183435A1 | US10136861 | US20110224565A1 | US20130237776A1 | US20140187988A1 | US20140257063A1 | US20150150468A1 | US20150223759A1 | US20170049403A1 | US20180098736A1 | US20190150850A1 | US8668644 | US8932220 | US8951193 | US9295429 | US9420957 | US9795342 | WO2011115576A2 | WO2011115576A3
简单同族成员数量:
33
简单同族被引用专利总数:
123
诉讼案件数:
0
法律状态/事件:
授权