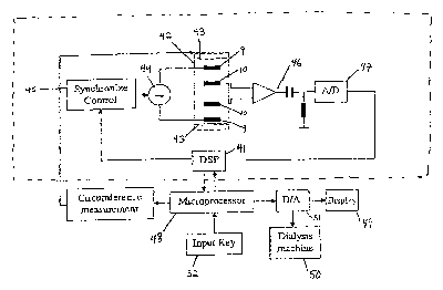
标题:
Device and method for monitoring and controlling physiologic parameters of a dialysis patient using segmental bioimpedance
授权日:
2007-06-05
公开(公告)号:
US7228170
申请日:
2002-11-27
公开(公告)日:
2007-06-05
当前申请(专利权)人:
FRESENIUS MEDICAL CARE HOLDINGS, INC.
发明人:
ZHU, FANSAN | LEVIN, NATHAN W.
简单同族:
AU2003293091A1 | US20030120170A1 | US7228170 | WO2004049938A1
简单同族成员数量:
4
简单同族被引用专利总数:
137
诉讼案件数:
0
法律状态/事件:
未缴年费 | 权利转移