首页
专利数据库
产业人才
行业动态
产业政策法规
维权援助
个人中心
登录/注册
详情
文本
图像
标题:
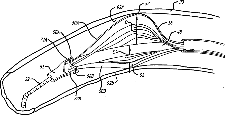
Thermography catheter with improved wall contact
授权日:
1900-01-01
公开(公告)号:
US20040176699A1
申请日:
2003-03-03
公开(公告)日:
2004-09-09
当前申请(专利权)人:
VOLCANO THERAPEUTICS, INC.
发明人:
WALKER, BLAIR | MAAHS, TRACY | FLORES, JESUS
简单同族:
US20040176699A1
简单同族成员数量:
1
简单同族被引用专利总数:
169
诉讼案件数:
0
法律状态/事件:
撤回 | 权利转移