首页
专利数据库
产业人才
行业动态
产业政策法规
维权援助
个人中心
登录/注册
详情
文本
图像
标题:
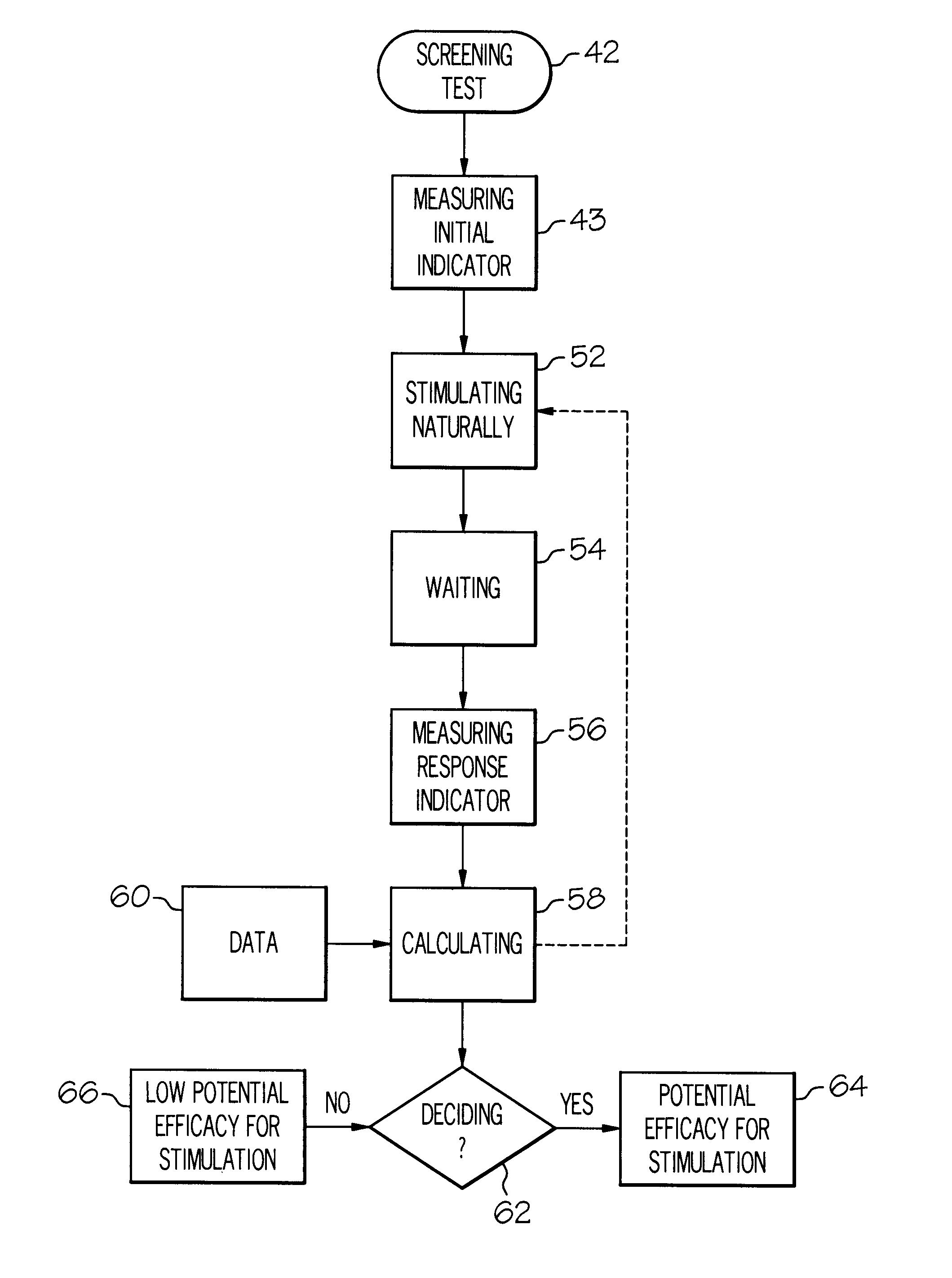
Pancreatic secretion response to stimulation test protocol
授权日:
2003-09-02
公开(公告)号:
US6612983
申请日:
2000-03-28
公开(公告)日:
2003-09-02
当前申请(专利权)人:
MEDTRONIC, INC.
发明人:
MARCHAL, BENOIT
简单同族:
US6612983
简单同族成员数量:
1
简单同族被引用专利总数:
162
诉讼案件数:
0
法律状态/事件:
未缴年费 | 权利转移